授权公布号:CN115262949B
连接机构及模板系统
有效
申请
2022-07-14
申请公布
2022-11-01
授权
2024-03-19
预估到期
2042-07-14
| 申请号 | CN202210823814.X |
| 申请日 | 2022-07-14 |
| 申请公布号 | CN115262949A |
| 申请公布日 | 2022-11-01 |
| 授权公布号 | CN115262949B |
| 授权公告日 | 2024-03-19 |
| 分类号 | E04G11/02;E04G17/00;E04G17/14;E04G17/06 |
| 分类 | 建筑物; |
| 申请人名称 | 晟通科技集团有限公司 |
| 申请人地址 | 湖南省长沙市望城经济技术开发区腾飞路二段109号晟通工业园 |
专利法律状态
2024-03-19
授权
状态信息
授权
2022-11-18
实质审查的生效
状态信息
实质审查的生效;IPC(主分类):E04G11/02;申请日:20220714
2022-11-01
公布
状态信息
公布
摘要
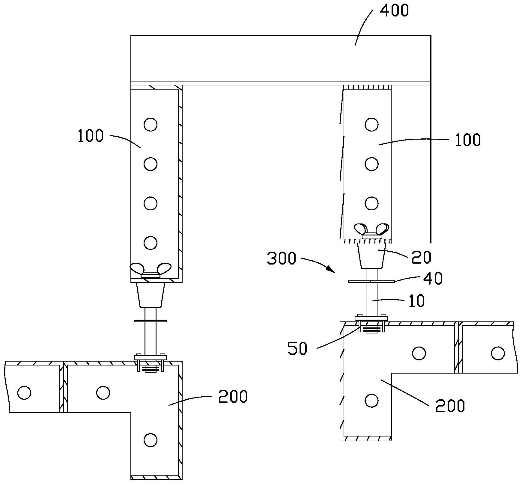
本申请提供一种连接机构及模板系统。模板系统包括连接机构。连接机构包括连接件和固定件。连接件包括第一段和第二段,第一段连接第二段。连接件包括止挡部和凸起部。止挡部和凸起部周向设于第二段,且止挡部位于凸起部和第一段之间。固定件包括第一固定部和第二固定部。通过在连接件上设置连接件,以及将连接件与固定件进行连接,能够使连接件通过连接件和固定件将第一模板与第二模板进行连接,改善第一模板在第二模板上存在偏移的问题,从而提高定位精准度。并且,在连接件上设置连接件,可以直接将连接件插入第一模板或第二模板的安装孔内,以将连接件连接第一模板或第二模板,从而简化连接件与第一模板或第二模板的连接操作。


