授权公布号:CN114319850B
转角模板
有效
申请
2022-01-27
申请公布
2022-04-12
授权
2023-09-15
预估到期
2042-01-27
| 申请号 | CN202210098215.6 |
| 申请日 | 2022-01-27 |
| 申请公布号 | CN114319850A |
| 申请公布日 | 2022-04-12 |
| 授权公布号 | CN114319850B |
| 授权公告日 | 2023-09-15 |
| 分类号 | E04G13/00;E04G9/05 |
| 分类 | 建筑物; |
| 申请人名称 | 晟通科技集团有限公司 |
| 申请人地址 | 湖南省长沙市望城经济技术开发区腾飞路二段109号晟通工业园 |
专利法律状态
2023-09-15
授权
状态信息
授权
2022-04-29
实质审查的生效
状态信息
实质审查的生效;IPC(主分类):E04G13/00;申请日:20220127
2022-04-12
公布
状态信息
公布
摘要
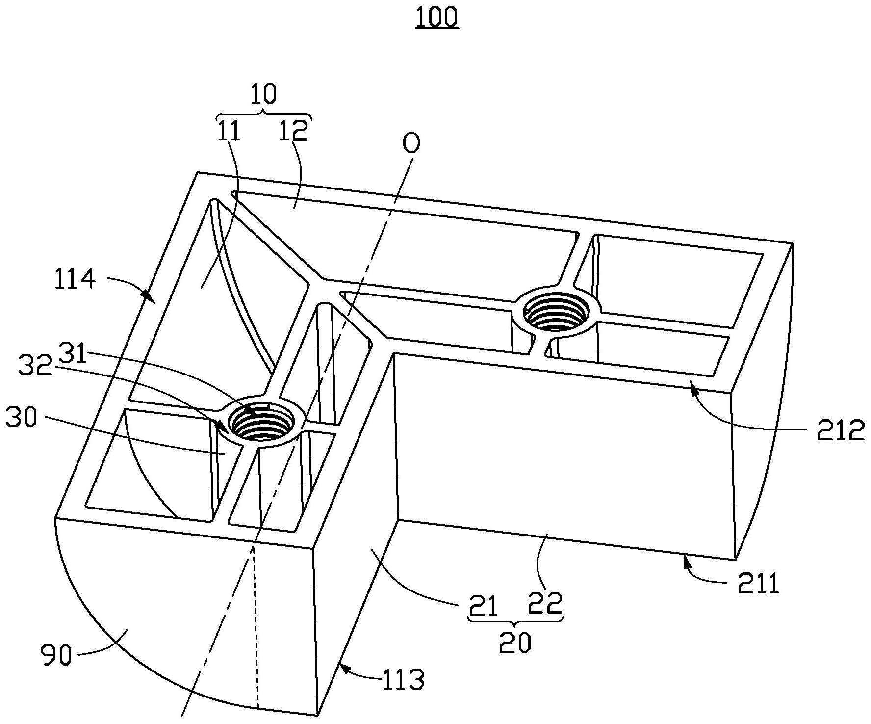
本申请涉及建筑领域,具体提供了一种转角模板,用于沉降位置,包括弧形板、连接板、连接柱、第一加强筋及端封板。弧形板呈弧形设置,并具有相对的第一弧形侧及第二弧形侧。连接板具有第一连接侧及第二连接侧,第一连接侧与第一弧形侧相接,第二连接侧与第二弧形侧平齐。连接柱设置于弧形板上,并具有与第二弧形侧平齐的连接端部,连接端部上开设有螺纹孔。连接端部与第二弧形侧的距离大于连接端部与第二连接侧的距离。第一加强筋设置于弧形板上,并与连接端部及第二弧形侧相接。端封板位于弧形板的端部,弧形板、连接板、连接柱、第一加强筋及端封板通过注塑一体成型。混凝土不会粘固于转角模板上,便于模板拆卸。


