授权公布号:CN115370143B
加固装置及现浇混凝土墙的浇筑方法
有效
申请
2022-08-09
申请公布
2022-11-22
授权
2024-01-12
预估到期
2042-08-09
| 申请号 | CN202210948163.7 |
| 申请日 | 2022-08-09 |
| 申请公布号 | CN115370143A |
| 申请公布日 | 2022-11-22 |
| 授权公布号 | CN115370143B |
| 授权公告日 | 2024-01-12 |
| 分类号 | E04G17/065;E04G11/08;E04G9/06 |
| 分类 | 建筑物; |
| 申请人名称 | 晟通科技集团有限公司 |
| 申请人地址 | 湖南省长沙市望城经济技术开发区腾飞路二段109号晟通工业园 |
专利法律状态
2024-01-12
授权
状态信息
授权
2022-12-09
实质审查的生效
状态信息
实质审查的生效;IPC(主分类):E04G17/065;申请日:20220809
2022-11-22
公布
状态信息
公布
摘要
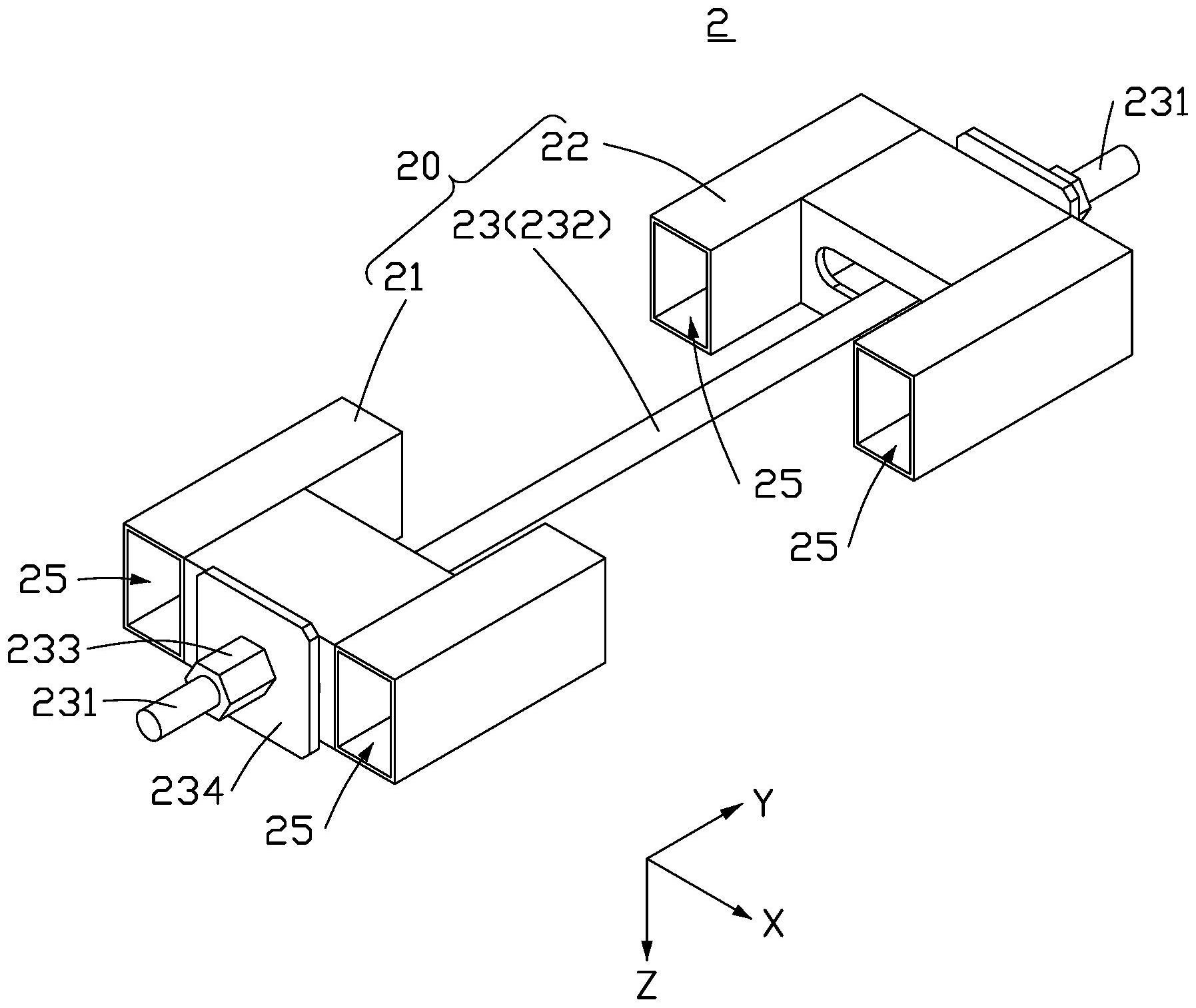
本申请具体涉及一种加固装置及现浇混凝土墙的浇筑方法。加固装置包括加固组件。加固组件包括第一连接件和两个加固结构。加固结构包括第一部件、第二部件和第三部件。第二部件和第三部件沿第一方向相对设置在第一部件的两端。第二部件的一端用于接触铝模板组件的底壁,第三部件的一端用于接触PC墙体。第一连接件用于沿第二方向穿过PC墙体,以在第二方向的两端各形成一个安装段。每个安装段用于连接一个加固结构的第一部件,以使得两个加固结构夹持PC墙体。本申请中的加固装置中的每个加固组件的体积小,重量轻,可以解决常规加固装置体积较大、重量较大不便于安装PC墙体和铝模板组件的问题。


