授权公布号:CN112942826B
拼接夹具及模板框架
有效
申请
2021-02-28
申请公布
2021-06-11
授权
2023-08-15
预估到期
2041-02-28
| 申请号 | CN202110221996.9 |
| 申请日 | 2021-02-28 |
| 申请公布号 | CN112942826A |
| 申请公布日 | 2021-06-11 |
| 授权公布号 | CN112942826B |
| 授权公告日 | 2023-08-15 |
| 分类号 | E04G17/00;E04G17/06 |
| 分类 | 建筑物; |
| 申请人名称 | 晟通科技集团有限公司 |
| 申请人地址 | 湖南省长沙市望城经济技术开发区腾飞路二段109号晟通工业园 |
专利法律状态
2023-08-15
授权
状态信息
授权
2021-07-02
实质审查的生效
状态信息
实质审查的生效;IPC(主分类):E04G17/00;申请日:20210228
2021-06-11
公布
状态信息
公布
摘要
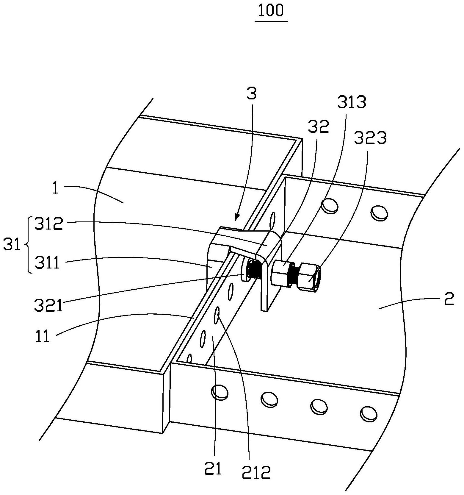
本申请提供一种拼接夹具及模板框架,该拼接夹具包括卡件和夹持件;所述卡件包括连接部和卡持部,所述卡持部设置在所述连接部上,所述卡持部朝向所述连接部的一侧设有卡块;所述夹持件可移动地设置在所述连接部上,并能够移动靠近或远离所述卡持部,所述夹持件包括定位部和插入部,所述插入部自所述定位部向所述卡持部凸出;上述的拼接夹具通过卡件和夹持件分别连接错孔的两个模板,及卡件和夹持件可相对运动地连接在一起,以解决错孔的两个模板连接不便的问题;结构简单可靠,不仅极大的提高工作效率,还提高模板的通用性。


