授权公布号:CN115405089B
盘扣、支撑结构及模板框架
有效
申请
2022-09-16
申请公布
2022-11-29
授权
2023-07-18
预估到期
2042-09-16
| 申请号 | CN202211131379.0 |
| 申请日 | 2022-09-16 |
| 申请公布号 | CN115405089A |
| 申请公布日 | 2022-11-29 |
| 授权公布号 | CN115405089B |
| 授权公告日 | 2023-07-18 |
| 分类号 | E04G7/30;E04G17/00 |
| 分类 | 建筑物; |
| 申请人名称 | 晟通科技集团有限公司 |
| 申请人地址 | 湖南省长沙市望城经济技术开发区腾飞路二段109号晟通工业园 |
专利法律状态
2023-07-18
授权
状态信息
授权
2022-12-16
实质审查的生效
状态信息
实质审查的生效;IPC(主分类):E04G7/30;申请日:20220916
2022-11-29
公布
状态信息
公布
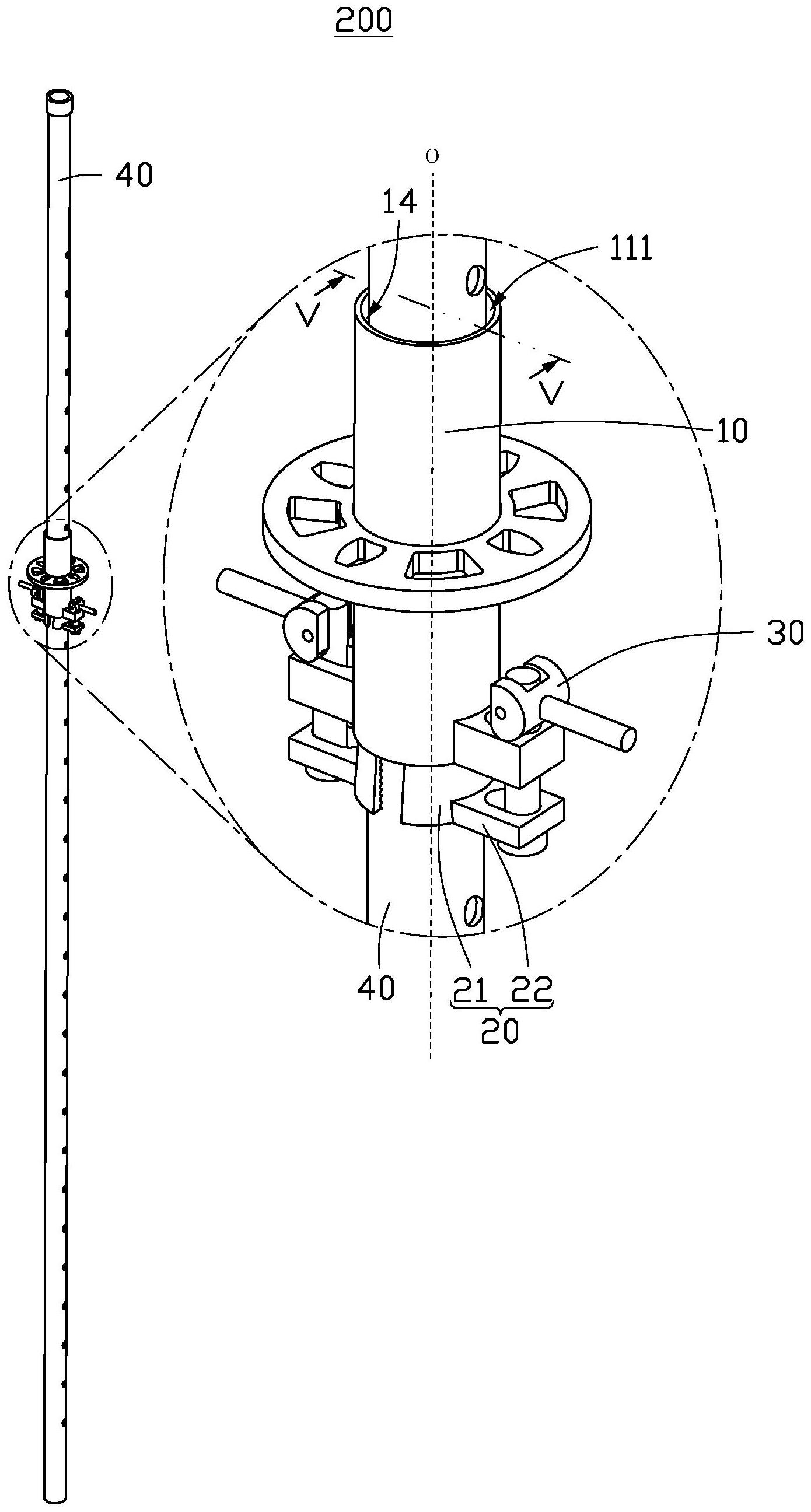
摘要
本申请涉及建筑领域,具体提供了一种盘扣、支撑结构及模板框架,盘扣包括主体,开设有通孔,用于套设单顶杆,通孔与单顶杆间隙配合,并形成活动空间,盘扣还包括固定件及锁紧组件,固定件包括固定部及设置于固定部一侧的连接部,固定部至少部分伸入活动空间,并抵持于单顶杆及通孔,用于限定主体与单顶杆的相对位置。锁紧组件与连接部及主体连接,用于朝主体方向抵压连接部以及朝连接部方向抵压主体,以阻挡固定部与活动空间分离。通孔与单顶杆间隙配合并形成活动空间,利用锁紧组件让固定件的固定部伸入活动空间内,并抵持单顶杆及通孔,从而能够阻挡主体与单顶杆的相对移动,实现主体在单顶杆的任意位置固定。


