授权公布号:CN115182579B
外梁模板组
有效
申请
2022-07-04
申请公布
2022-10-14
授权
2024-01-12
预估到期
2042-07-04
| 申请号 | CN202210776125.8 |
| 申请日 | 2022-07-04 |
| 申请公布号 | CN115182579A |
| 申请公布日 | 2022-10-14 |
| 授权公布号 | CN115182579B |
| 授权公告日 | 2024-01-12 |
| 分类号 | E04G13/04;E04G17/04 |
| 分类 | 建筑物; |
| 申请人名称 | 晟通科技集团有限公司 |
| 申请人地址 | 湖南省长沙市望城经济技术开发区腾飞路二段109号晟通工业园 |
专利法律状态
2024-01-12
授权
状态信息
授权
2022-11-01
实质审查的生效
状态信息
实质审查的生效;IPC(主分类):E04G13/04;申请日:20220704
2022-10-14
公布
状态信息
公布
摘要
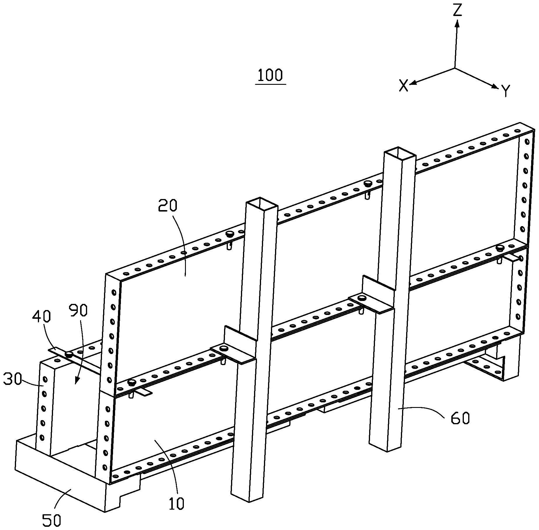
本申请涉及建筑领域,具体提供了一种外梁模板组,包括支撑结构、第一梁模板、第二梁模板、第三梁模板及拉片。第一梁模板设置于支撑结构上。第二梁模板设置于第一梁模板上。第三梁模板设置于支撑结构,并与第一梁模板相对设置,第三梁模板背离支撑结构一侧与第一梁模板背离支撑结构一侧平齐,支撑结构、第一梁模板,第二梁模板及第三梁模板围绕形成浇筑空间。拉片一端设置于第一梁模板与第二梁模板之间,另一端设置于第三梁模板上,用于连接第一梁模板及第三梁模板。梁模板不需要额外打孔,既能够提升模板的生产安装效率。


