授权公布号:CN113882658B
连接结构以及模板框架
有效
申请
2021-09-22
申请公布
2022-01-04
授权
2023-07-18
预估到期
2041-09-22
| 申请号 | CN202111107955.3 |
| 申请日 | 2021-09-22 |
| 申请公布号 | CN113882658A |
| 申请公布日 | 2022-01-04 |
| 授权公布号 | CN113882658B |
| 授权公告日 | 2023-07-18 |
| 分类号 | E04G9/02;E04G17/00 |
| 分类 | 建筑物; |
| 申请人名称 | 晟通科技集团有限公司 |
| 申请人地址 | 湖南省长沙市望城经济技术开发区腾飞路二段109号晟通工业园 |
专利法律状态
2023-07-18
授权
状态信息
授权
2022-01-21
实质审查的生效
状态信息
实质审查的生效;IPC(主分类):E04G9/02;申请日:20210922
2022-01-04
公布
状态信息
公布
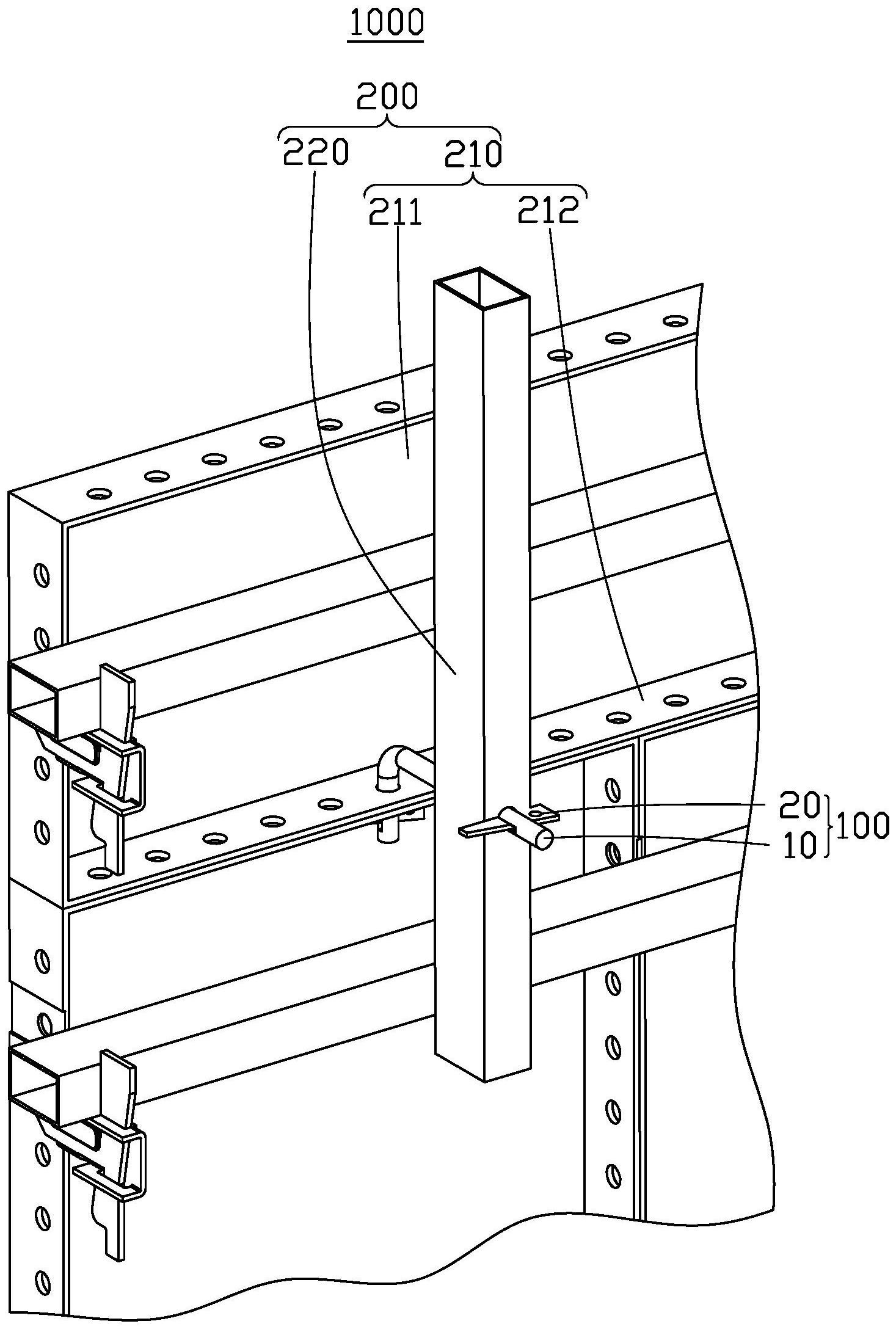
摘要
本发明公开了一种连接结构以及模板框架,其中,该连接结构用于连接第一部件和第二部件,该连接结构包括连接杆和两个止位件。该连接杆包括依次连接的第一段、连接段以及第二段,连接段连接第一段和第二段,第一段沿第一方向延伸,第二段延伸第二方向延伸,第一方向垂直第二方向;一个止位件与第一段插接配合,用于阻挡第一段插脱离第一部件,另一个止位件与第二段插接配合,用于阻挡第二段脱离第二部件。本申请中的连接结构通过第一段和第二段均和对应的止位件插接配合,从而将第一部件和第二部件连接起来,该连接结构的结构简单,采用插接配合的方式使得安装简便,减少了安装工具的使用。


