授权公布号:CN206157043U
一种辊靠持立式传输玻璃钢化炉
有效
申请
2016-10-18
申请公布
1970-01-01
授权
2017-05-10
预估到期
2026-10-18
| 申请号 | CN201621130842.X |
| 申请日 | 2016-10-18 |
| 授权公布号 | CN206157043U |
| 授权公告日 | 2017-05-10 |
| 分类号 | C03B29/10;C03B35/16;C03B27/012 |
| 分类 | 玻璃;矿棉或渣棉; |
| 申请人名称 | 宣城吉鼎玻机械有限公司 |
| 申请人地址 | 浙江省杭州市富阳市新登镇金城路53号504室 |
专利法律状态
2019-09-27
专利申请权、专利权的转移
状态信息
专利权的转移IPC(主分类):C03B 29/10登记生效日:20190906变更前 专利权人:冯珊 地址:311404 浙江省杭州市富阳市新登镇金城路53号504室变更后 专利权人:宣城吉鼎玻机械有限公司 地址:242000 安徽省宣城市宣州区狸桥经济开发区廷藻路6号
2017-05-10
授权
状态信息
授权
摘要
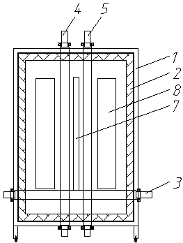
本实用新型涉及一种辊靠持立式传输玻璃钢化炉,属于玻璃生产技术领域。其包括依次连接的上片部、加热部、冷却部和下片部,加热部包括内部设有加热装置的加热炉,包括安装在加热炉上的保温层、输送装置和靠持装置;输送装置包括平行于腔体底部安装的辊道一;靠持装置设置在加热装置之间且垂直于辊道一;辊道一和靠持装置为线速度相同的两端固定转轴。本实用新型玻璃片采用靠持的方式运输,玻璃片端面为主要受力面,故在保护玻璃表面不受到伤害同时,又防止了玻璃在软化后产生边部翘曲的现象,提高了玻璃钢化的质量;其次,不需要排版的输送方式提高了生产效率,降低了人工成本;第三,保温层阻止了热量的流失,能够节约能耗。


