授权公布号:CN211450928U
一种尸体火化炉
有效
申请
2019-12-05
申请公布
1970-01-01
授权
2020-09-08
预估到期
2029-12-05
| 申请号 | CN201922152290.2 |
| 申请日 | 2019-12-05 |
| 授权公布号 | CN211450928U |
| 授权公告日 | 2020-09-08 |
| 分类号 | F23G1/00 |
| 分类 | 燃烧设备;燃烧方法; |
| 申请人名称 | 秦皇岛启航玻璃机械设备制造有限公司 |
| 申请人地址 | 河北省秦皇岛市海港区东港镇中心庄村秦皇岛市调味厂北 |
专利法律状态
2020-09-08
授权
状态信息
授权
摘要
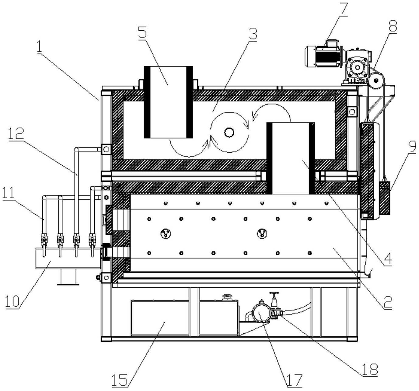
本实用新型公开了一种尸体火化炉,包括炉体、设置于所述炉体内的主燃室、以及设置于所述主燃室上方的二燃室,所述主燃室通过第一烟道与所述二燃室连通,所述二燃室顶部向外设有第二烟道,所述第一烟道从所述主燃室延伸至所述二燃室内部,所述第二烟道从所述炉体外部延伸至所述二燃室内部;所述第一烟道和所述第二烟道分设于所述二燃室两端,所述第一烟道和所述第二烟道之间的区域用于形成烟气涡流,且在该区域设有超大功率加热器。通过在二燃室形成烟气涡流,进一步促进烟气燃烧,同时进行高温燃烧,去除烟气中的二噁英。


