授权公布号:CN214142099U
一种用于平风栅钢化设备的链条压紧结构
有效
申请
2020-12-18
申请公布
1970-01-01
授权
2021-09-07
预估到期
2030-12-18
| 申请号 | CN202023055019.6 |
| 申请日 | 2020-12-18 |
| 授权公布号 | CN214142099U |
| 授权公告日 | 2021-09-07 |
| 分类号 | C03B35/16 |
| 分类 | 玻璃;矿棉或渣棉; |
| 申请人名称 | 洛阳港信玻璃技术有限公司 |
| 申请人地址 | 河南省洛阳市老城区唐宫东路10号厂区灰熊科技园C栋209室 |
专利法律状态
2021-09-07
授权
状态信息
授权
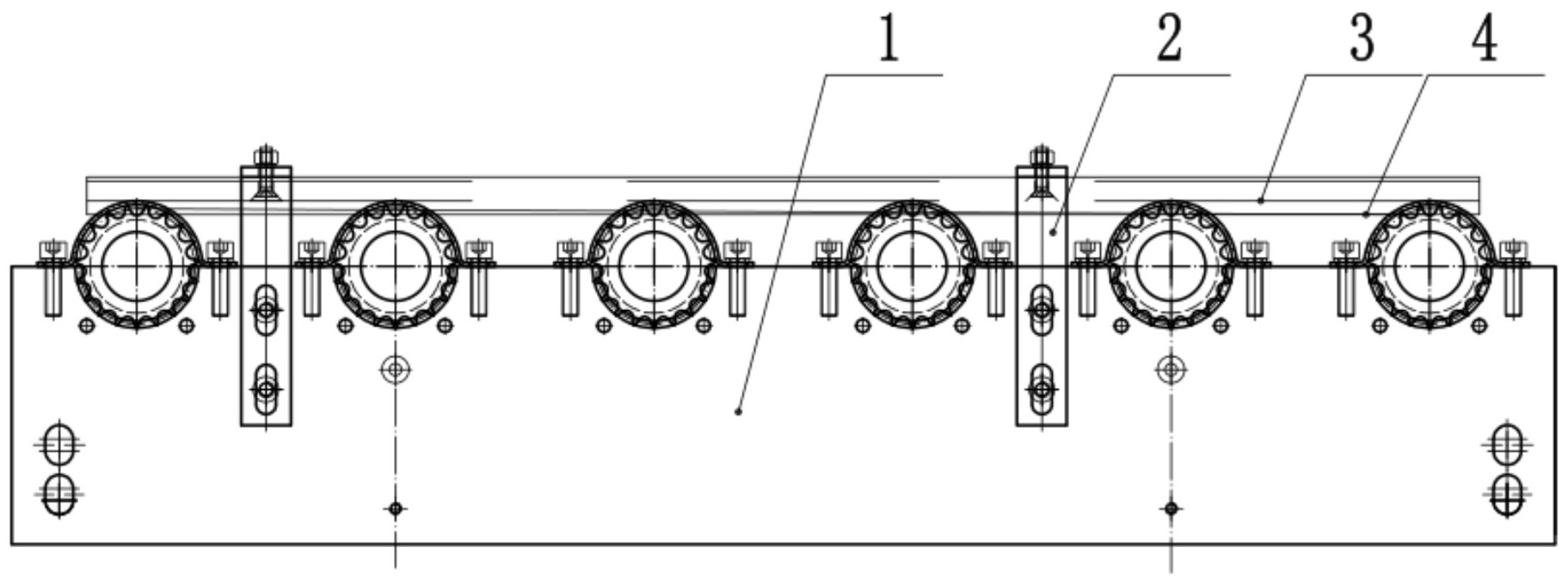
摘要
一种用于平风栅钢化设备的链条压紧结构,涉及一种链条压紧结构,包括轴承座板、辊道和链条,沿轴承座板的长度方向间隔均匀的设有多个辊道,辊道的轴头端均通过轴承设置在轴承座板的轴孔内,在轴头的外端部均安装有链轮,在多个链轮之间的外部设有链条,链条的上面设有“n”形的链条压槽,轴承座板上设有通过螺栓固定的链条压轨座,链条压轨座的上端压设在链条压槽上,并通过螺钉压紧链条压槽;本实用新型结构简单、拆装方便,使链条传动平稳,大大提高了工作效率。


