授权公布号:CN218372088U
一种弯风栅齿轮传动机构
有效
申请
2022-09-23
申请公布
1970-01-01
授权
2023-01-24
预估到期
2032-09-23
| 申请号 | CN202222535782.1 |
| 申请日 | 2022-09-23 |
| 授权公布号 | CN218372088U |
| 授权公告日 | 2023-01-24 |
| 分类号 | C03B27/044;C03B35/16 |
| 分类 | 玻璃;矿棉或渣棉; |
| 申请人名称 | 洛阳港信玻璃技术有限公司 |
| 申请人地址 | 河南省洛阳市老城区唐宫东路10号厂区灰熊科技园C栋209室 |
专利法律状态
2023-01-24
授权
状态信息
授权
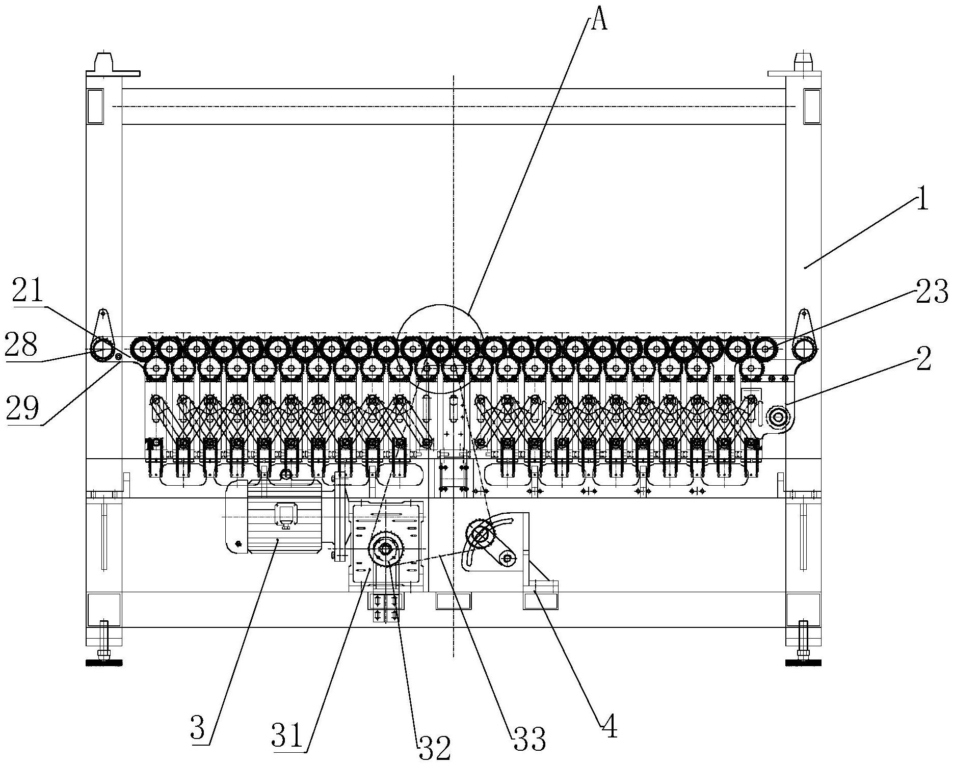
摘要
本实用新型提供一种弯风栅齿轮传动机构,包括机架及安装在机架上端的辊道片台、安装在机架下端的驱动机构,所述辊道片台包括台架、转动安装在台架中间的主动辊道及分布转动安装在台架两侧的传动辊道,所述主动辊道的外端一侧同轴安装有主动齿轮和主动链轮,所述传动辊道外端分别安装有从动齿轮,所述台架的下端一侧分布转动安装有过渡齿轮,所述过渡齿轮分别安装在主动齿轮和从动齿轮的下端外侧。该装置臂传统采用链条传动方式的同步性更好,传动更平稳。解决了钢化弯玻璃时,弯钢化玻璃在弯风栅内摆动冷却时辊道的不同步及振动问题。最大限度内避免了辊道不同步造成的玻璃表面划伤,提高了钢化玻璃的表面质量。


