授权公布号:CN211445528U
一种钢化炉辊道传动系统中的双电机拖动结构
有效
申请
2019-11-06
申请公布
1970-01-01
授权
2020-09-08
预估到期
2029-11-06
| 申请号 | CN201921898309.1 |
| 申请日 | 2019-11-06 |
| 授权公布号 | CN211445528U |
| 授权公告日 | 2020-09-08 |
| 分类号 | C03B35/16;C03B27/012 |
| 分类 | 玻璃;矿棉或渣棉; |
| 申请人名称 | 洛阳港信玻璃技术有限公司 |
| 申请人地址 | 河南省洛阳市老城区唐宫东路10号厂区灰熊科技园C栋209室 |
专利法律状态
2020-09-08
授权
状态信息
授权
摘要
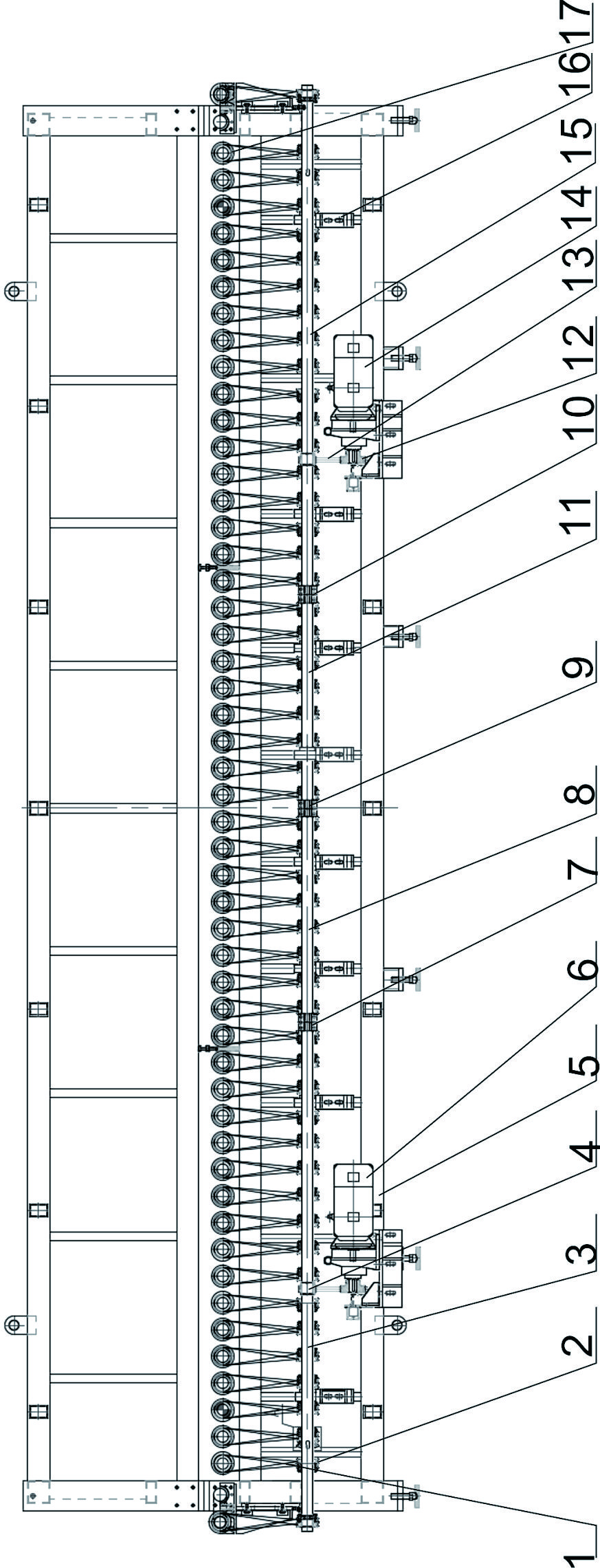
一种钢化炉辊道传动系统中的双电机拖动结构,涉及一种双电机拖动结构,包括电机和传动轴,在传动轴上间隔均匀的设有多个主动皮带轮,多个主动皮带轮分别与相对应的多个辊道皮带轮通过O形带连接,电机包括减速电机A和减速电机B,减速电机A与减速电机B分别设置传动轴的下部,在传动轴的两端和中部均设有轴承座,传动轴包括四根依次连接成直线型的主传动轴A、主传动轴B、主传动轴C和主传动轴D,减速电机A上的减速机链轮与主传动轴A上设置的主动链轮通过磙子链条连接,减速电机B上的减速机链轮与主传动轴D上设置的主动链轮通过磙子链条连接;本实用新型达到了减少钢化玻璃辊道面目划痕的目的,提高了钢化玻璃的表面质量。


