授权公布号:CN213843553U
一种玻璃钢化炉炉体的传动轴旋转检测装置
有效
申请
2021-01-19
申请公布
1970-01-01
授权
2021-07-30
预估到期
2031-01-19
| 申请号 | CN202120147898.0 |
| 申请日 | 2021-01-19 |
| 授权公布号 | CN213843553U |
| 授权公告日 | 2021-07-30 |
| 分类号 | G01V9/00;H03K17/945 |
| 分类 | 测量;测试; |
| 申请人名称 | 洛阳港信玻璃技术有限公司 |
| 申请人地址 | 河南省洛阳市老城区唐宫东路10号厂区灰熊科技园C栋209室 |
专利法律状态
2021-07-30
授权
状态信息
授权
摘要
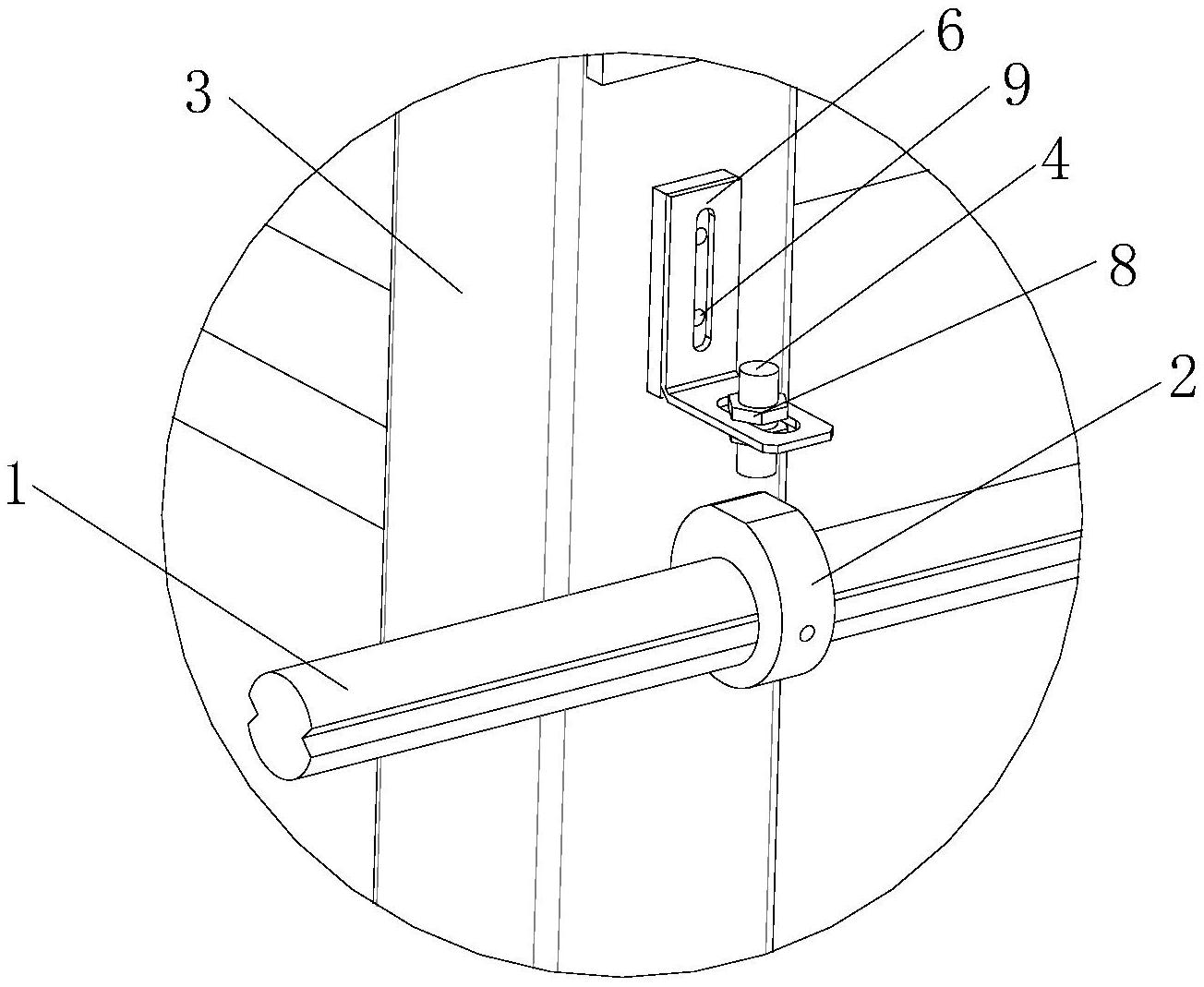
本实用新型涉及检测设备技术领域,具体公开了一种玻璃钢化炉炉体的传动轴旋转检测装置,包括传动轴;所述传动轴上安装有用于驱动其周期旋转的旋转驱动装置,传动轴上安装有感应块,传动轴的一侧安装有固定支架,固定支架上安装有接近开关,接近开关安装在感应块的正上方。本实用新型在传动轴上安装有感应块,并在感应块的上方安装有接近快关,在传动轴正常旋转的情况下,接近开关能够检测到感应块的转动发出脉冲信号,传动轴的停止旋转时,接近开关则检测不到感应块的转动,在实际使用的过程中,可以将接近开关与报警机构连接,及时通知相关操作人员,避免玻璃圆原片在钢化炉体内过烧,甚至融化在炉体内,损坏炉体。


