授权公布号:CN213113063U
一种宽体薄厚玻璃钢化共用生产线
有效
申请
2020-09-07
申请公布
1970-01-01
授权
2021-05-04
预估到期
2030-09-07
| 申请号 | CN202021923287.2 |
| 申请日 | 2020-09-07 |
| 授权公布号 | CN213113063U |
| 授权公告日 | 2021-05-04 |
| 分类号 | C03B27/012;C03B27/04;C03B35/00 |
| 分类 | 玻璃;矿棉或渣棉; |
| 申请人名称 | 洛阳奥图机械设备有限公司 |
| 申请人地址 | 河南省洛阳市孟津县会盟镇知青农场(黄河桥头南向东100米路北) |
专利法律状态
2021-05-04
授权
状态信息
授权
摘要
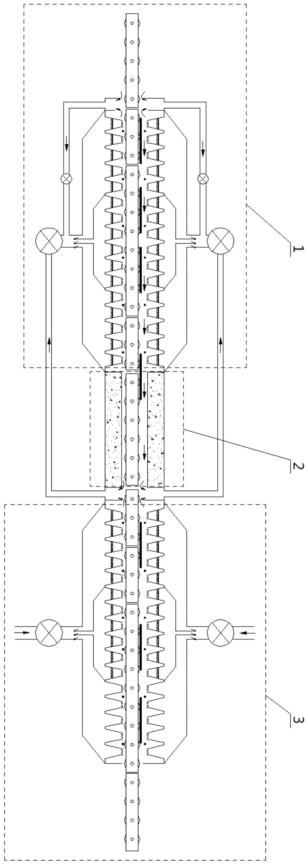
一种宽体薄厚玻璃钢化共用生产线,包括钢化炉、转接炉、冷却炉,其依序设置,固定连接;其中转接炉将钢化炉与冷却炉进行隔离设置,解决了以往冷却炉对钢化炉尾端的温度影响;所述钢化炉采用强制循环热风系统,热风喷槽采用连续槽状,确保了钢化炉内温度的均匀性,同时保证了吹向玻璃热风温度的均匀性;所述冷却炉前、中段采用水冷换热器,冷风喷槽采用连续槽状,确保了玻璃冷却温度的稳定性、及吹向玻璃冷风温度的均匀性;所述钢化炉、转接炉、冷却炉内的托辊组设置为独立的若干段,其每段托辊转速均独立可调,解决了以往玻璃无法快速预冷问题;本实用新型突破了现有钢化玻璃生产线最大处理宽度2440毫米的限制,其最大处理宽度达到了3000毫米。


