授权公布号:CN212953375U
一种夹层玻璃生产线PVB胶片预放料装置
有效
申请
2020-09-07
申请公布
1970-01-01
授权
2021-04-13
预估到期
2030-09-07
| 申请号 | CN202021923289.1 |
| 申请日 | 2020-09-07 |
| 授权公布号 | CN212953375U |
| 授权公告日 | 2021-04-13 |
| 分类号 | B65H20/04;B65H35/06 |
| 分类 | 输送;包装;贮存;搬运薄的或细丝状材料; |
| 申请人名称 | 洛阳奥图机械设备有限公司 |
| 申请人地址 | 河南省洛阳市孟津县会盟镇知青农场(黄河桥头南向东100米路北) |
专利法律状态
2021-04-13
授权
状态信息
授权
摘要
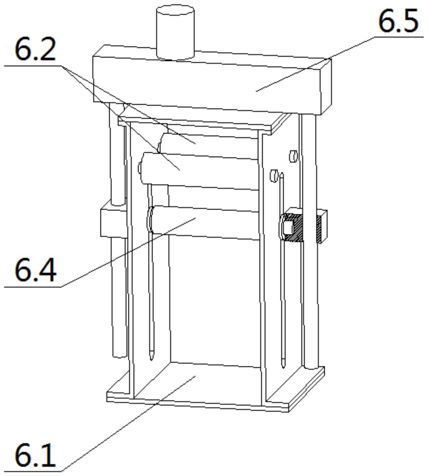
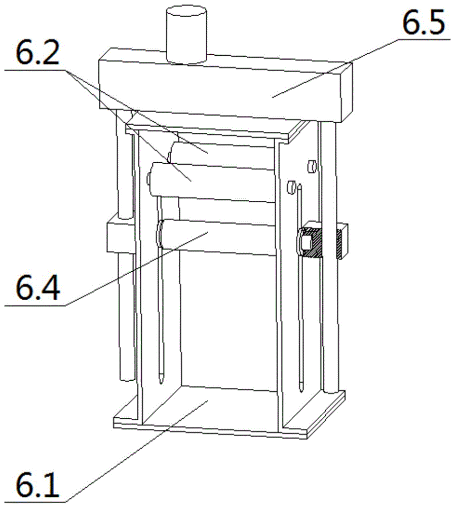
一种夹层玻璃生产线PVB胶片预放料装置,通过在原夹层玻璃生产线的PVB胶片放料装置、长度测量装置之间增加设置预放料装置,避免长度测量装置在对PVB胶片放料时产生的过大拉力,无需再对放料长度进行补偿,因此解决了设置放料长度补偿所产生的最终送至压合装置上的PVB胶片的长度过长的问题,避免了PVB胶片的浪费,因此给企业带来了良好的经济效益。


