授权公布号:CN214991138U
一种玻璃钢化炉在线测厚装置
有效
申请
2021-02-22
申请公布
1970-01-01
授权
2021-12-03
预估到期
2031-02-22
| 申请号 | CN202120385323.2 |
| 申请日 | 2021-02-22 |
| 授权公布号 | CN214991138U |
| 授权公告日 | 2021-12-03 |
| 分类号 | C03B27/00;G01B21/08 |
| 分类 | 玻璃;矿棉或渣棉; |
| 申请人名称 | 洛阳奥图机械设备有限公司 |
| 申请人地址 | 河南省洛阳市孟津县会盟镇知青农场(黄河桥头南向东100米路北) |
专利法律状态
2021-12-03
授权
状态信息
授权
摘要
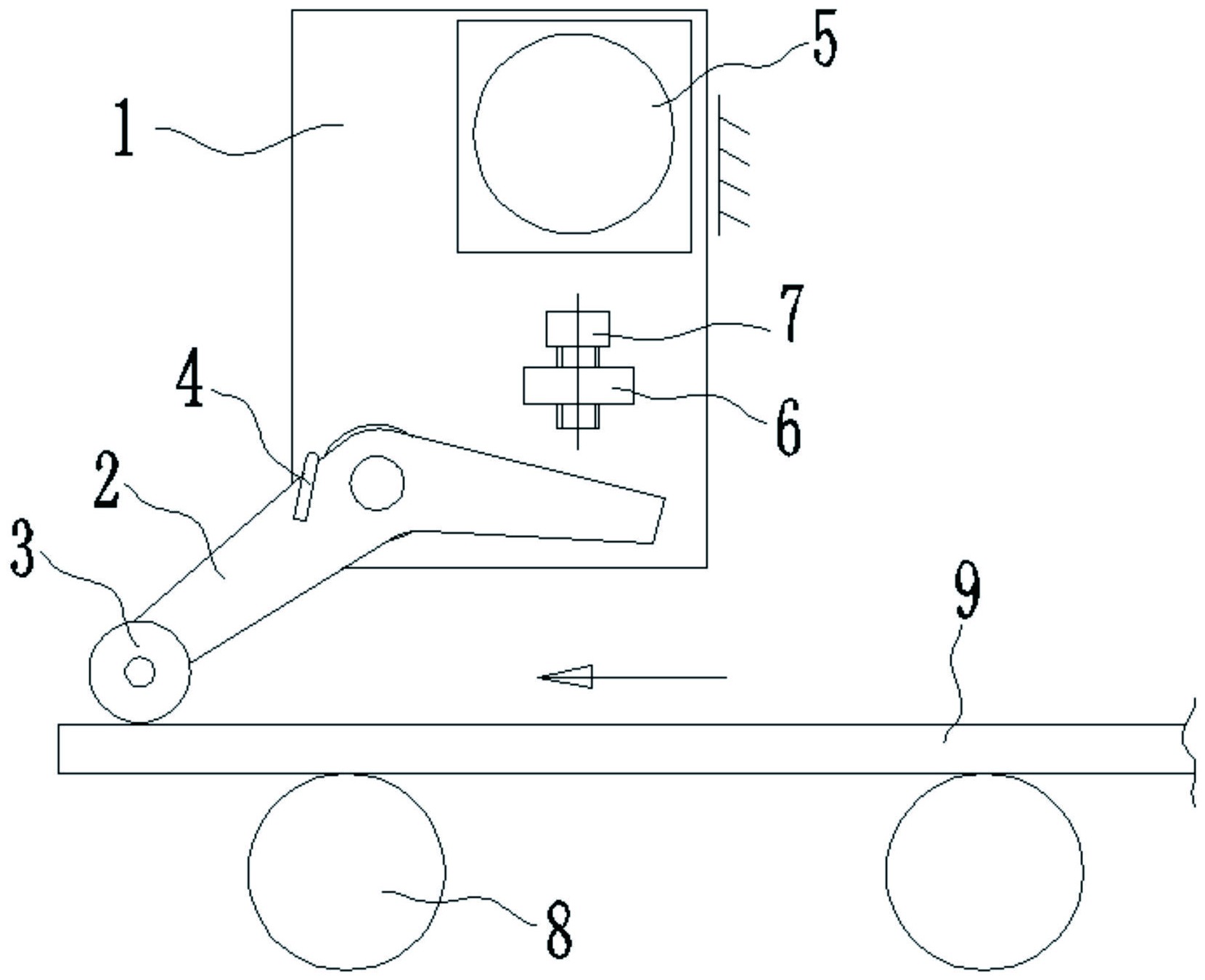
一种玻璃钢化炉在线测厚装置,设置在玻璃钢化炉的进栅口,包括增速器,在增速器的低速输入端连接有摆臂,在增速器的高速输出端连接有编码器;所述摆臂的自由端与玻璃接触,用来测量玻璃的厚度。本实用新型能够实现玻璃厚度的在线测量,并提高了测量的精度及可靠性,不但替代了人工测量及参数输入,而且使玻璃钢化炉真正做到了自动化控制生产,进而降低了人工成本。


