授权公布号:CN212833452U
一种钢化玻璃生产用破片监测装置
有效
申请
2020-08-28
申请公布
1970-01-01
授权
2021-03-30
预估到期
2030-08-28
| 申请号 | CN202021832775.2 |
| 申请日 | 2020-08-28 |
| 授权公布号 | CN212833452U |
| 授权公告日 | 2021-03-30 |
| 分类号 | C03B27/00;G01H17/00 |
| 分类 | 玻璃;矿棉或渣棉; |
| 申请人名称 | 洛阳奥图机械设备有限公司 |
| 申请人地址 | 河南省洛阳市孟津县会盟镇知青农场(黄河桥头南向东100米路北) |
专利法律状态
2021-03-30
授权
状态信息
授权
摘要
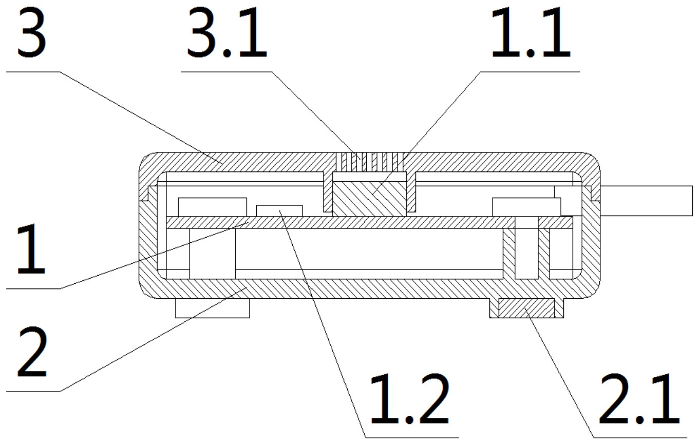
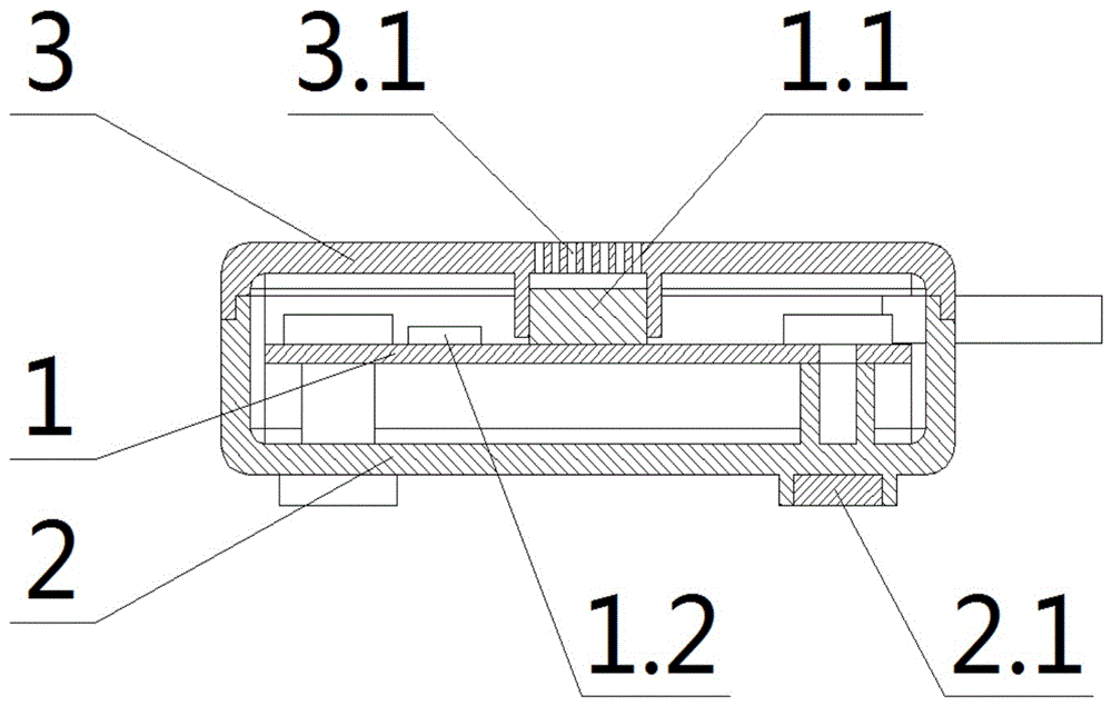
一种钢化玻璃生产用破片监测装置,包括PCB板组合、底壳、上盖;PCB板组合包括音频传感器、振动传感器、MCU,其固定焊接在PCB板上;PCB板组合固定设置在底壳、上盖围成的空腔中,通过电缆与钢化玻璃生产线的控制装置电性连接;破片监测装置使用时固定设置在钢化玻璃生产线冷却炉出口端内侧侧壁上;当玻璃在冷却炉中发生破片时,会发出较大的爆裂声和振动,破片监测装置监测到爆裂声和振动时,自动发出告警信号至钢化玻璃生产线的控制装置发出声光报警;本实用新型的钢化玻璃生产用破片监测装置成功解决了以往的破片监测方案对人的依赖性问题,同时具有结构简单、工作可靠、成本低的优点,因此在钢化玻璃生产的破片监测中取得了良好的应用结果。


