授权公布号:CN217868628U
一种玻璃钢化炉弯段左右变弧不关联的变弧装置
有效
申请
2022-07-06
申请公布
1970-01-01
授权
2022-11-22
预估到期
2032-07-06
| 申请号 | CN202221767833.7 |
| 申请日 | 2022-07-06 |
| 授权公布号 | CN217868628U |
| 授权公告日 | 2022-11-22 |
| 分类号 | C03B27/012;C03B23/00 |
| 分类 | 玻璃;矿棉或渣棉; |
| 申请人名称 | 洛阳赛合玻璃自动化设备有限公司 |
| 申请人地址 | 河南省洛阳市洛阳片区高新区河洛路天元中部自贸港7幢1403室 |
专利法律状态
2022-11-22
授权
状态信息
授权
摘要
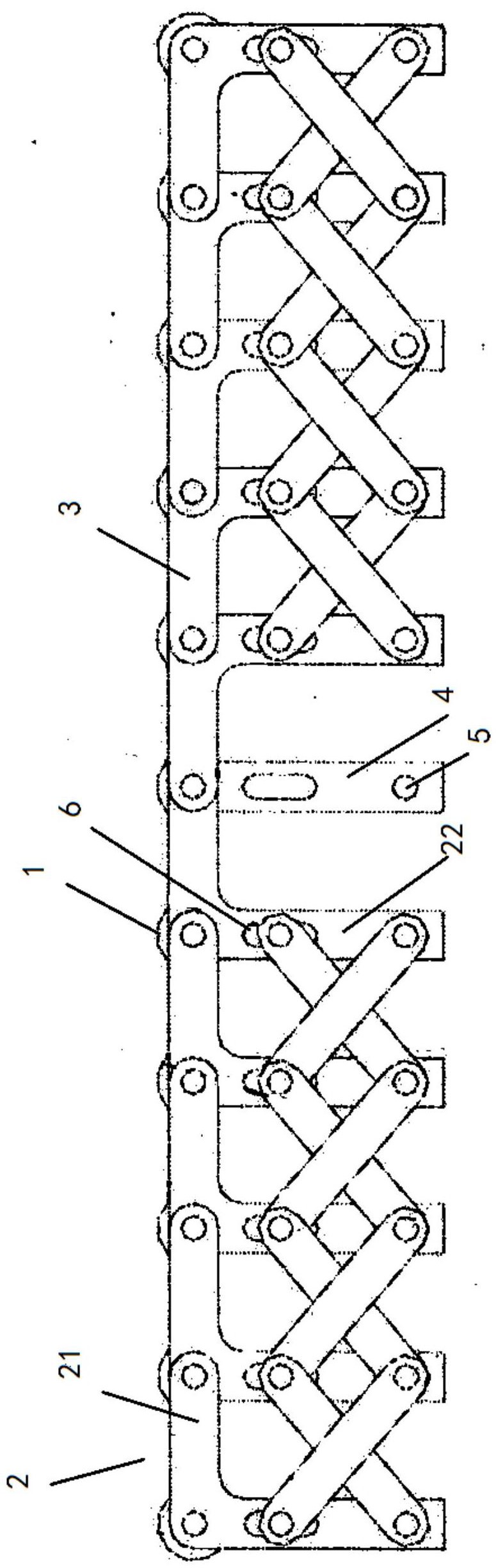
本实用新型属于玻璃变弧技术领域,公开了一种玻璃钢化炉弯段左右变弧不关联的变弧装置,包括由若干个输送辊构成的玻璃输送辊道,还包括对称安装于所述玻璃输送辊道两侧的两组变弧组件;所述变弧组件包括中间关节板和对称设于中间关节板两侧的多个左关节板和多个右关节板;所述中间关节板与玻璃输送辊道中段的输送辊连接,每个所述左关节板分别与玻璃输送辊道左段的一个输送辊转动连接,每个所述右关节板分别与玻璃输送辊道右段的一个输送辊转动连接。本实用新型的左半部分生成的弧形与右半部分生成的弧形不关联,增加了生产弯形玻璃调弧的自由度,即使调弧过量也不会损坏设备,还增加了设备的安全系数。


