授权公布号:CN213185056U
玻璃钢化生产线运行控制柜
有效
申请
2020-09-03
申请公布
1970-01-01
授权
2021-05-11
预估到期
2030-09-03
| 申请号 | CN202021898171.8 |
| 申请日 | 2020-09-03 |
| 授权公布号 | CN213185056U |
| 授权公告日 | 2021-05-11 |
| 分类号 | H02B1/30;H02B1/20 |
| 分类 | 发电、变电或配电; |
| 申请人名称 | 绥中远图科技发展有限公司 |
| 申请人地址 | 辽宁省葫芦岛市绥中县滨海经济区25号1-3 |
专利法律状态
2021-05-11
授权
状态信息
授权
摘要
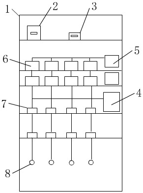
本实用新型提出的是玻璃钢化生产线运行控制柜。在柜体内上部装有主空气开关和备用空气开关,主空气开关电源与高压变压器直接连接,高压变压器分别于两个低压变压器电路连接,低压变压器的输出电压输送给PLC控制器,供PLC控制器运行使用,从PLC控制器引出的控制线通过高压变压器输出线后,经过中间继电器通过接线端子输出点位机构。本实用新型通过在控制柜能够利用PLC控制器控制玻璃钢化生产线自动运行,具有控制功能全,性能稳定,使得玻璃钢化生产线运行平稳,生产效率得以提高。适宜作为玻璃钢化生产线运行控制柜使用。


