授权公布号:CN207671916U
玻璃钢化移动压制模架
有效
申请
2017-12-28
申请公布
1970-01-01
授权
2018-07-31
预估到期
2027-12-28
| 申请号 | CN201721880215.2 |
| 申请日 | 2017-12-28 |
| 授权公布号 | CN207671916U |
| 授权公告日 | 2018-07-31 |
| 分类号 | C03B27/00 |
| 分类 | 玻璃;矿棉或渣棉; |
| 申请人名称 | 绥中远图科技发展有限公司 |
| 申请人地址 | 辽宁省葫芦岛市绥中县滨海经济区25号1-3 |
专利法律状态
2018-07-31
授权
状态信息
授权
摘要
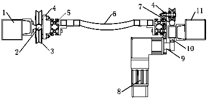
本实用新型提供的是玻璃钢化移动压制模架。在左模架上装有导轨,在导轨上装有动轮,在动轮一侧装有固定件和铝合金型材,铝合金型材通过连接件与汽车风挡玻璃模具连接,汽车风挡玻璃模具另一端通过连接件与铝合金型材连接,在右模架上装有滑轨,在滑轨下部设有齿条,齿条与设在伺服电机上的齿轮传动连接。由于本实用新型通过左模架和右模架夹持汽车风挡玻璃在导轨和滑轨的作用下左右和前后移动。解决玻璃钢化模具移动的问题。适宜作为汽车风挡玻璃模具移动的模架使用。


