授权公布号:CN207670843U
玻璃标签输送线
有效
申请
2017-12-28
申请公布
1970-01-01
授权
2018-07-31
预估到期
2027-12-28
| 申请号 | CN201721876603.3 |
| 申请日 | 2017-12-28 |
| 授权公布号 | CN207670843U |
| 授权公告日 | 2018-07-31 |
| 分类号 | B65C9/08 |
| 分类 | 输送;包装;贮存;搬运薄的或细丝状材料; |
| 申请人名称 | 绥中远图科技发展有限公司 |
| 申请人地址 | 辽宁省葫芦岛市绥中县滨海经济区25号1-3 |
专利法律状态
2018-07-31
授权
状态信息
授权
摘要
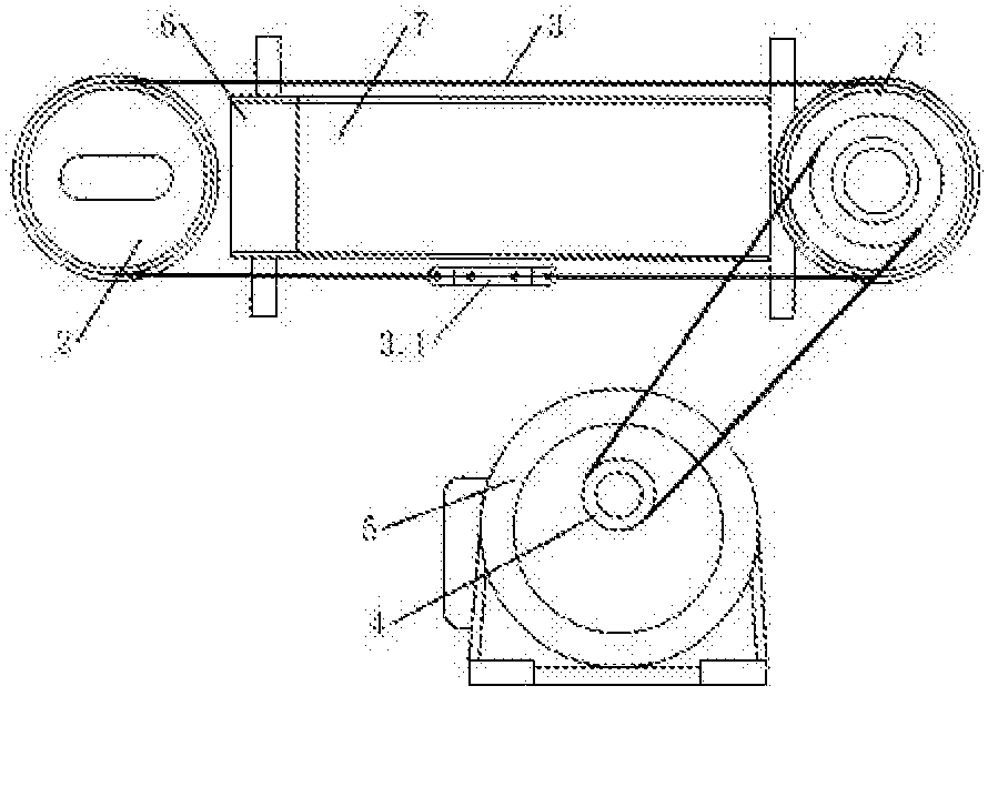
本实用新型提出的是玻璃标签输送线。主动链轮与从动链轮之间通过链条回转连接,主动链轮与从动链轮分别安装在链轮座板上,并通过结构架连接成一体,电动减速机通过减速机驱动链轮经过传动链将动力传递到与主动链轮同轴的主动链轮上,在链条上设有挂钩连接板,挂钩连接板的外侧与标签挂钩上部连接,在结构架下部设有悬挂导轨支座,并装有导轨和直线轴承,标签挂钩的上部通过螺栓固定在挂钩连接板上,并随链条与挂钩连接板回转,传送标签。由于本实用新型采用链条牵引标签挂钩的上部,标签挂钩的下部连接在直线轴承上并延导轨移动,使得标签挂钩既有牵引动力,又有限位控制,标签挂钩输送平稳可靠。适宜作为标签输送线使用。


