授权公布号:CN215087807U
一种离心粉碎机
有效
申请
2021-03-02
申请公布
1970-01-01
授权
2021-12-10
预估到期
2031-03-02
| 申请号 | CN202120450956.7 |
| 申请日 | 2021-03-02 |
| 授权公布号 | CN215087807U |
| 授权公告日 | 2021-12-10 |
| 分类号 | B02C19/00;B02C23/08;B02C23/02;B02C23/00 |
| 分类 | 破碎、磨粉或粉碎;谷物碾磨的预处理; |
| 申请人名称 | 上海净信实业发展有限公司 |
| 申请人地址 | 上海市嘉定区新成路500号JT3128室 |
专利法律状态
2021-12-10
授权
状态信息
授权
摘要
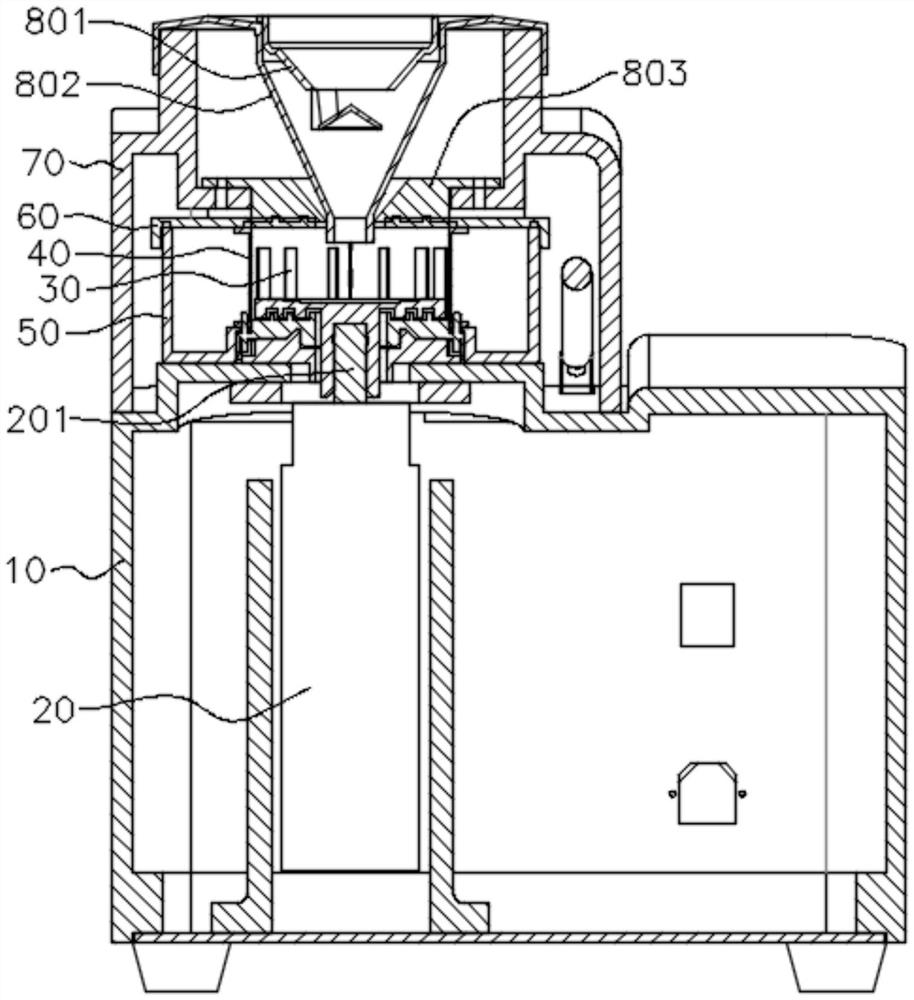
本实用新型提供一种离心粉碎机,包括:机壳、旋转驱动机构、转刀、筛网、收集盘、盖板和上盖,所述转刀包括卡接部、转刀盘体和多个转刀棱,所述转刀通过卡接部安装在所述旋转驱动机构的输出转轴上。工作时,旋转驱动机构带动转刀高速转动,落在转刀盘体上的样品在离心力作用下运动到转刀棱上产生强烈撞击进行初级粉碎,然后样品继续往转刀外延运动,受到转刀棱和筛网的挤压和剪切作用进行二级粉碎,当样品小于筛网孔径时,就会进入到收集盘,从而完成样品的制备。两级式的研磨方式使制样过程达到了温和快速的效果,由于样品在研磨腔内存留时间很短,样品的性质不会发生改变。盖板、收集盘、筛网和转刀可方便从机壳上方取出,方便清洗。


