授权公布号:CN214881571U
一种全自动的温和组织单细胞分离设备
有效
申请
2021-04-23
申请公布
1970-01-01
授权
2021-11-26
预估到期
2031-04-23
| 申请号 | CN202120848739.3 |
| 申请日 | 2021-04-23 |
| 授权公布号 | CN214881571U |
| 授权公告日 | 2021-11-26 |
| 分类号 | C12M1/42;C12M1/40;C12M1/38;C12M1/34;C12M1/24;C12M1/02;C12M1/00 |
| 分类 | 生物化学;啤酒;烈性酒;果汁酒;醋;微生物学;酶学;突变或遗传工程; |
| 申请人名称 | 上海净信实业发展有限公司 |
| 申请人地址 | 上海市嘉定区新成路500号JT3128室 |
专利法律状态
2021-11-26
授权
状态信息
授权
摘要
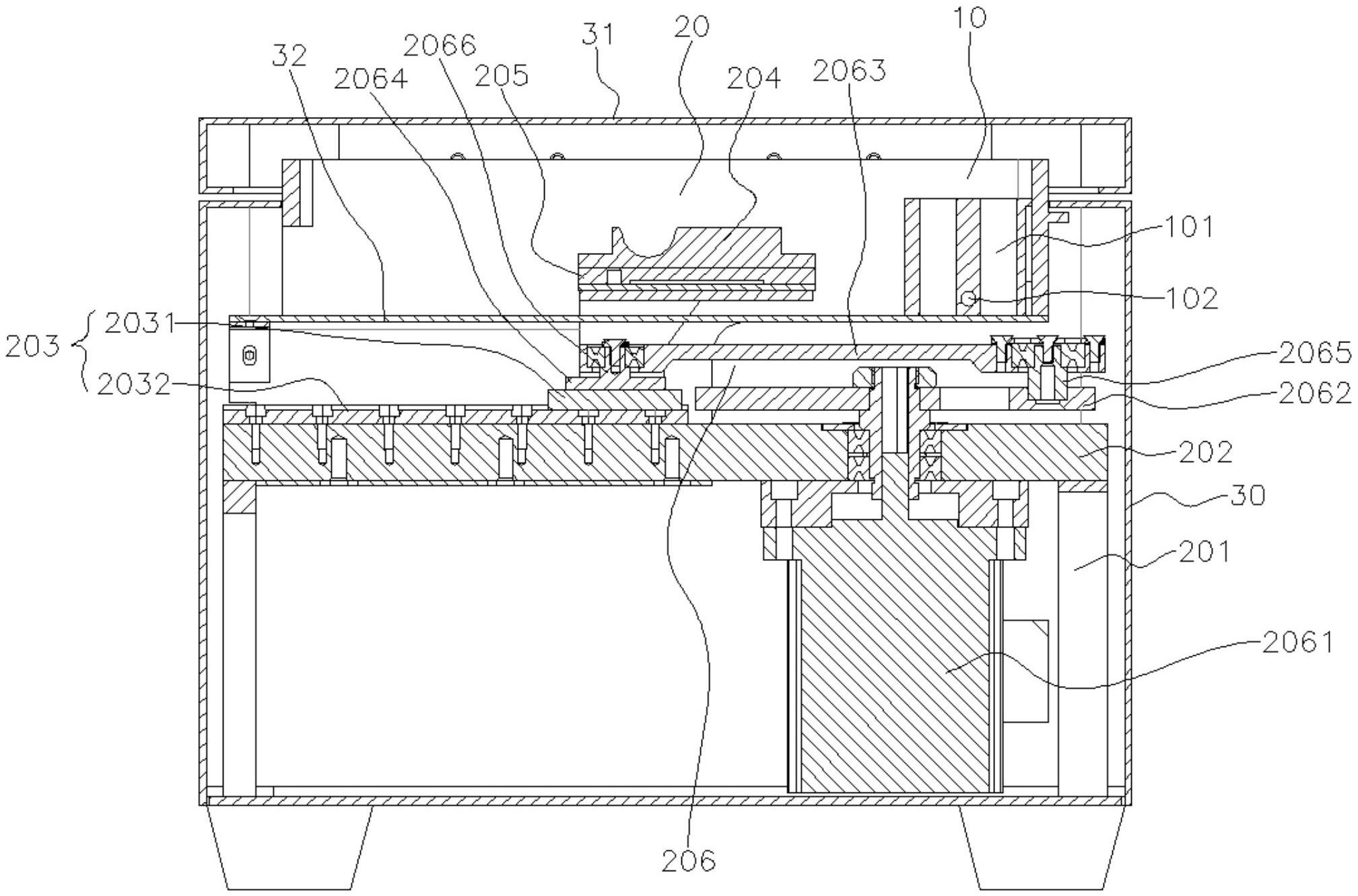
本实用新型提供一种全自动的温和组织单细胞分离设备,包括预热单元和消化剪切单元,预热单元包括试管放置块和第一控温模组,消化剪切单元包括主支架、支撑板、平移导向机构、试管支架、第二控温模组和往复驱动机构。先将样品与剪切磁珠和消化酶混合置于样品管内,预热单元能使样品变温到细胞保持高活性的温度条件,在待处理样品量较大时,预热单元又能作为恒温保存的场所,使样品长时间保持活性;在消化剪切处理时,第二控温模组将样品保持在设定的恒温高活性温度条件下,往复驱动机构按照预设程序带动样品在消化处理时左右摇摆,通过剪切磁珠对组织剪切,提高组织的细胞得率,不同的组织均可以达到90%以上的细胞得率,得到高浓度的活细胞悬液。


