授权公布号:CN215950670U
一种具有坚韧性的风机通风管道
有效
申请
2021-02-03
申请公布
1970-01-01
授权
2022-03-04
预估到期
2031-02-03
| 申请号 | CN202120302786.8 |
| 申请日 | 2021-02-03 |
| 授权公布号 | CN215950670U |
| 授权公告日 | 2022-03-04 |
| 分类号 | F16L21/08;F16L57/02 |
| 分类 | 工程元件或部件;为产生和保持机器或设备的有效运行的一般措施;一般绝热; |
| 申请人名称 | 江苏德鹏空调设备有限公司 |
| 申请人地址 | 江苏省泰州市靖江市城北园区北三环路58号 |
专利法律状态
2022-03-04
授权
状态信息
授权
摘要
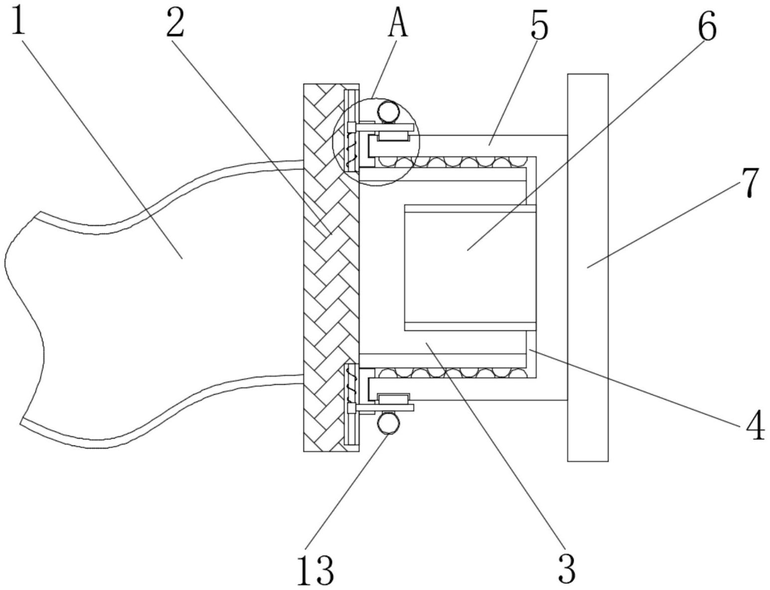
本实用新型涉及通风管道技术领域,具体为一种具有坚韧性的风机通风管道,包括管道装置主体,所述管道装置主体右侧顶端固定连接在限位安装板左侧中部,所述限位安装板右侧中部固定连接有第一连接口,且第一连接口右侧顶端插设在第一限位开槽内侧,所述第一限位开槽开设在第二连接口左侧中部,所述第二连接口右侧顶端固定连接在连接安装板左侧中部,所述第二连接口外壁的上下两端对称插设有限位插块,且限位插块外侧顶端皆固定连接在拉杆内侧底端。本实用新型可以相对较为便捷且稳定的使得管道装置主体和第二连接口之间进行安装,确保了装置在使用过程中的工作效率,进一步保障了装置在使用过程中的稳固性。


