授权公布号:CN116618548B
一种L形散热翅片加工用折弯装置
有效
申请
2023-07-26
申请公布
2023-08-22
授权
2023-09-29
预估到期
2043-07-26
| 申请号 | CN202310923460.0 |
| 申请日 | 2023-07-26 |
| 申请公布号 | CN116618548A |
| 申请公布日 | 2023-08-22 |
| 授权公布号 | CN116618548B |
| 授权公告日 | 2023-09-29 |
| 分类号 | B21D53/02 |
| 分类 | 基本上无切削的金属机械加工;金属冲压; |
| 申请人名称 | 江苏德鹏空调设备有限公司 |
| 申请人地址 | 江苏省泰州市靖江市城北园区北三环路58号 |
专利法律状态
2023-09-29
授权
状态信息
授权
2023-09-08
实质审查的生效
状态信息
实质审查的生效;IPC(主分类):B21D53/02;申请日:20230726
2023-08-22
公布
状态信息
公布
摘要
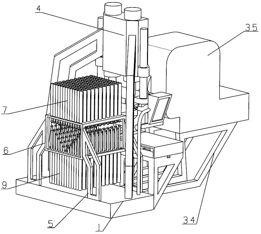
本发明涉及散热片加工设备技术领域,具体是一种L形散热翅片加工用折弯装置,包括底座,还包括;与底座相连接的折弯结构,所述折弯结构包括与底座相连接的下模机构,所述底座连接有与下模机构相适配的下压机构;与底座相连接的矫正结构,所述矫正结构包括与底座固定连接的支撑架,所述支撑架上对称安装有两组形变机构;与底座相连接的顶送机构。本发明通过对矫正结构的调节,便于人员省去对模具不断修改并试模的过程,提升本发明对散热翅片的加工效率。


