授权公布号:CN214876712U
一种风机生产用具有防掉落结构的运输装置
有效
申请
2021-02-03
申请公布
1970-01-01
授权
2021-11-26
预估到期
2031-02-03
| 申请号 | CN202120303030.5 |
| 申请日 | 2021-02-03 |
| 授权公布号 | CN214876712U |
| 授权公告日 | 2021-11-26 |
| 分类号 | B65D25/24;B65D25/10;B65D81/02 |
| 分类 | 输送;包装;贮存;搬运薄的或细丝状材料; |
| 申请人名称 | 江苏德鹏空调设备有限公司 |
| 申请人地址 | 江苏省泰州市靖江市城北园区北三环路58号 |
专利法律状态
2021-11-26
授权
状态信息
授权
摘要
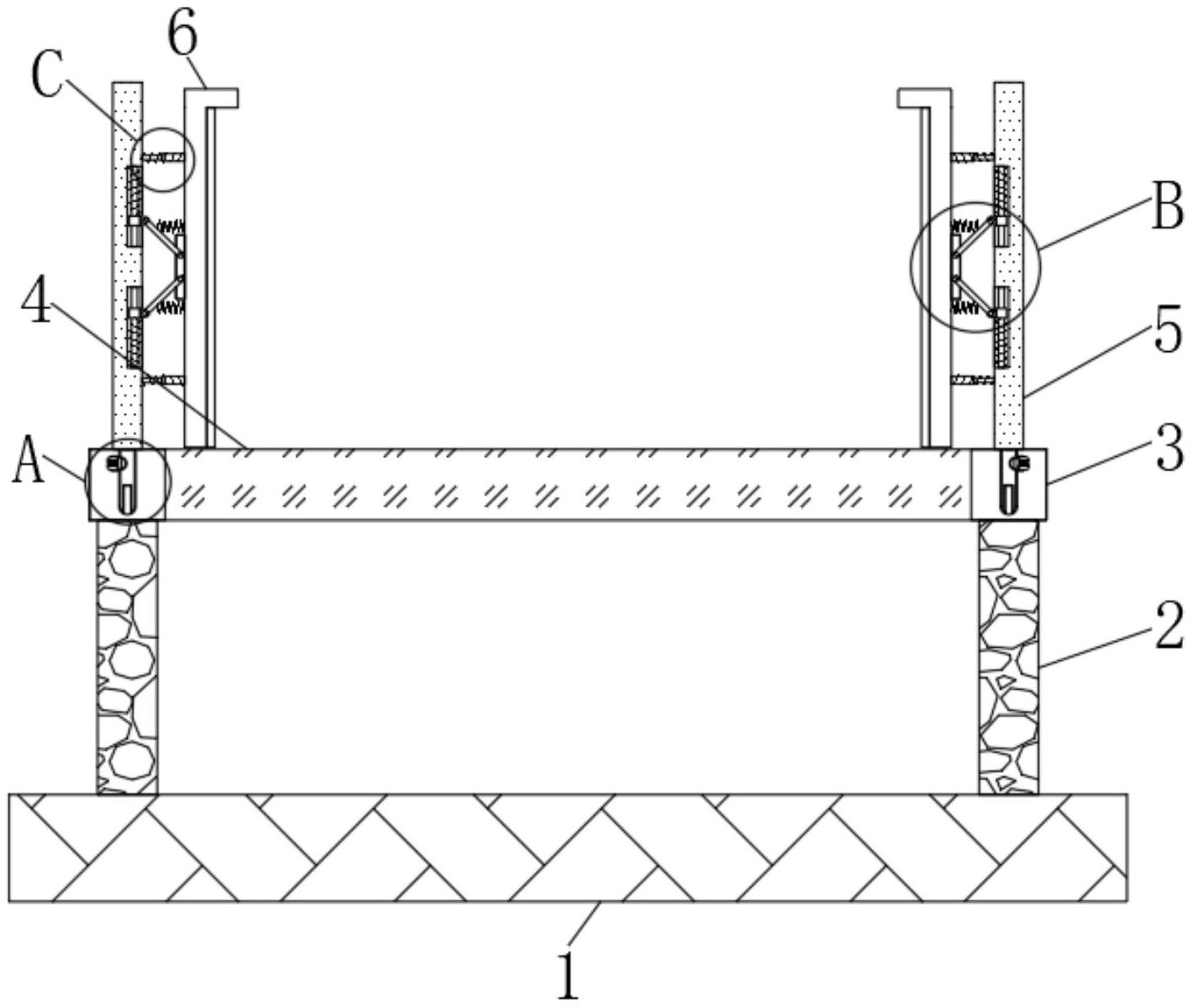
本实用新型涉及运输装置领域,具体为一种风机生产用具有防掉落结构的运输装置,包括装置底座,所述装置底座顶端左右两侧皆固定连接有支撑杆,且支撑杆的顶端固定连接有连接装置,两组所述连接装置内部固定连接有输送装置,所述输送装置顶端的左右两侧皆设置有限位板,两组所述限位板底端中部皆固定连接有插杆,所述连接装置上皆开设有弧形槽,且插杆皆插设在弧形槽的内部,所述连接装置上皆开设有槽口,且槽口的上下两端皆开设有滑轨。本实用新型解决了传统的输送装置在工作时不能防止工件掉落的问题,确保了装置的完整性,对装置在工作时进行保护作用的同时,可以进行缓冲作用,确保了装置的合理性。


