授权公布号:CN210344427U
一种具有抗锈蚀结构的新型排烟防火调节阀
有效
申请
2019-05-06
申请公布
1970-01-01
授权
2020-04-17
预估到期
2029-05-06
| 申请号 | CN201920636835.4 |
| 申请日 | 2019-05-06 |
| 授权公布号 | CN210344427U |
| 授权公告日 | 2020-04-17 |
| 分类号 | F16K17/38;F16K17/40;F16K27/02;B08B9/043 |
| 分类 | 工程元件或部件;为产生和保持机器或设备的有效运行的一般措施;一般绝热; |
| 申请人名称 | 江苏德鹏空调设备有限公司 |
| 申请人地址 | 江苏省泰州市靖江市孤山镇勇进路2号 |
专利法律状态
2020-04-17
授权
状态信息
授权
摘要
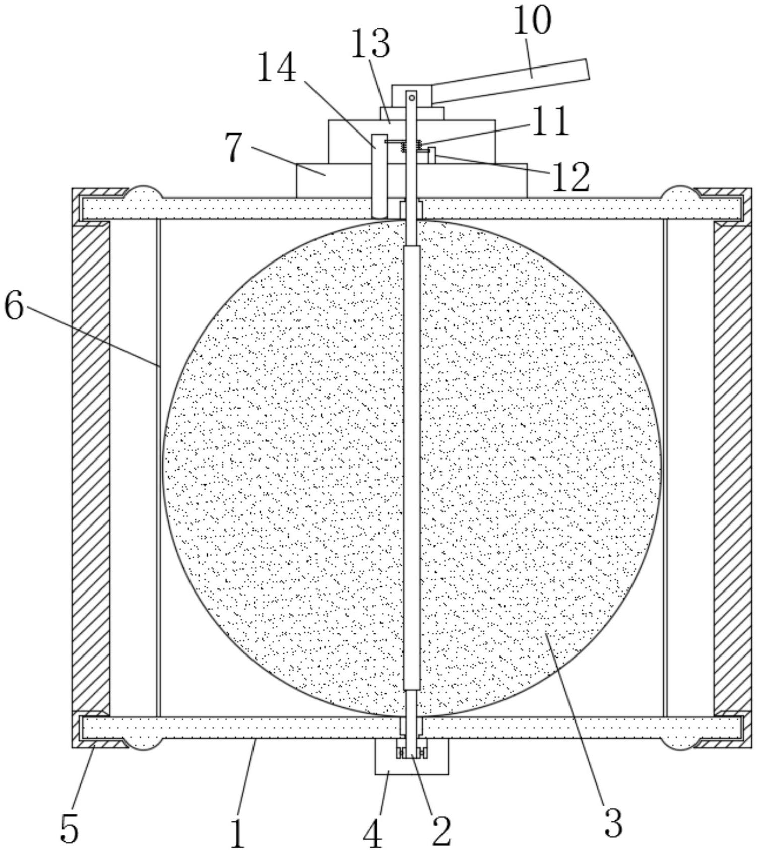
本实用新型公开了一种具有抗锈蚀结构的新型排烟防火调节阀,包括阀管、执行机构与温感器,所述阀管的两侧皆套设有密封套,所述阀管的下表面焊接有连接桩,所述阀管的内侧贯穿设置有阀杆,所述阀杆的外表面焊接有阀片,所述阀管的上表面焊接有固定桩,所述固定桩的上表面通过螺栓固定有执行机构,所述阀杆的顶端外表面套设有扭簧,所述扭簧的右侧焊接有固定块,所述扭簧的左侧通过螺丝固定有温感器,所述温感器的底端穿过阀管,所述执行机构的上表面设有扳手,且扳手通过螺栓与阀杆的顶端固定。本实用新型提高接口处密封性,提高抗锈蚀性,便于自动清洁阀管内壁,增加使用寿命。


