授权公布号:CN214976929U
一种控温精确的彩钢板用压板机
有效
申请
2020-12-30
申请公布
1970-01-01
授权
2021-12-03
预估到期
2030-12-30
| 申请号 | CN202023276668.9 |
| 申请日 | 2020-12-30 |
| 授权公布号 | CN214976929U |
| 授权公告日 | 2021-12-03 |
| 分类号 | B21D13/04;B21D37/16 |
| 分类 | 基本上无切削的金属机械加工;金属冲压; |
| 申请人名称 | 邯郸市东宏玻璃钢彩钢制造有限公司 |
| 申请人地址 | 河北省邯郸市邯山区新南环路与飞机场路交叉口西行2公里路南 |
专利法律状态
2021-12-03
授权
状态信息
授权
摘要
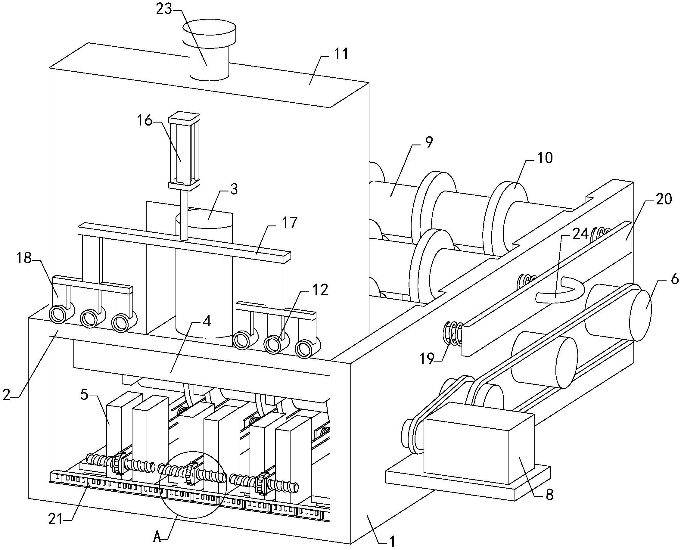
本实用新型涉及彩钢板加工技术领域,具体为一种控温精确的彩钢板用压板机,包括机架,机架上通过安装板安装有液压缸,液压缸的输出端穿过安装板并螺纹连接有压板,机架上滑动连接有多对架板,机架上转动连接有多个牵引杆,牵引杆上连接有多对承压轮,牵引杆之间传动连接,机架通过固定板安装有电机,电机和多个牵引杆中的一个牵引杆传动连接,机架上开设有多对安装槽,每对安装槽的内部均滑动安装有运输杆,运输杆上连接有多个压型轮,机架上连接有锁紧装置,安装板的顶端连接有冷却箱,冷却箱上连通有多个出液管,冷却箱上连接有开闭装置,每对架板上均连接有调节装置,其便于对波型进行调整,并且其便于进行冷却,实用性较高。


