授权公布号:CN213826661U
一种板材加工专用压瓦机构
有效
申请
2020-10-28
申请公布
1970-01-01
授权
2021-07-30
预估到期
2030-10-28
| 申请号 | CN202022435322.2 |
| 申请日 | 2020-10-28 |
| 授权公布号 | CN213826661U |
| 授权公告日 | 2021-07-30 |
| 分类号 | B21D37/00 |
| 分类 | 基本上无切削的金属机械加工;金属冲压; |
| 申请人名称 | 江苏宝光新型材料科技有限公司 |
| 申请人地址 | 江苏省无锡市惠山区钱桥街道钱洛路10号 |
专利法律状态
2021-07-30
授权
状态信息
授权
摘要
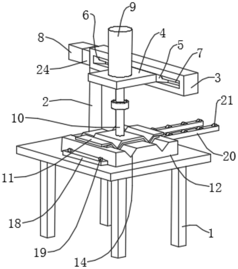
本实用新型公开了一种板材加工专用压瓦机构,其技术方案要点是:包括支撑台,所述支撑台的顶部固定有支撑柱,所述支撑柱顶端固定有横梁,所述横梁的一侧沿水平方向滑移连接有滑动座,所述滑动座上固定有滑块,所述横梁内开设有供所述滑块水平滑动的滑槽,所述滑块内螺纹连接有螺杆,所述横梁端部固定有驱动所述螺杆转动的伺服电机,所述滑动座上固定有液压缸,所述液压缸的活塞杆端部拆卸连接有固定杆,所述固定杆的底端固定有压模板,所述支撑台的顶部固定有压模座,所述压模板上具有压瓦凸边,所述压模座内开设有若干个与所述压瓦凸边相互配合的压瓦凹槽;本板材加工专用压瓦机构结构简单,能够灵活的调整压瓦的位置。


