授权公布号:CN217522379U
智能直流配电单元门闩结构
有效
申请
2022-05-30
申请公布
1970-01-01
授权
2022-09-30
预估到期
2032-05-30
| 申请号 | CN202221409512.X |
| 申请日 | 2022-05-30 |
| 授权公布号 | CN217522379U |
| 授权公告日 | 2022-09-30 |
| 分类号 | H02B1/04;H02B1/30;H02B1/32 |
| 分类 | 发电、变电或配电; |
| 申请人名称 | 上海汇珏网络通信设备股份有限公司 |
| 申请人地址 | 上海市奉贤区奉村路333号 |
专利法律状态
2022-09-30
授权
状态信息
授权
2022-05-30
公布
状态信息
公布
摘要
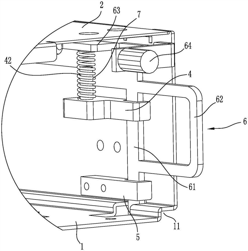
本实用新型公开了一种智能直流配电单元门闩结构,包括配电单元底托和配电单元上盖,所述配电单元底托和配电单元上盖的前端之间设置有配电单元前端板;配电单元底托的两侧底部分别设置有导槽;配电单元底托的内侧壁上固定安装有门闩上限位块和门闩下限位块,所述门闩上限位块和门闩下限位块之间安装有可上下滑动的门闩,所述门闩与所述门闩上限位块或门闩下限位块之间设置有限位弹簧。通过配电单元底托上的导槽结构可以与一体化插框进行配合安装,满足其更换的便捷性,满足安装的兼容性和便捷性。通过门闩上限位块、门闩下限位块和限位弹簧,使门闩整体形成一个能上下自由活动的机构,满足上下自由行程的同时,也可实现其整体的前后推拉。


