授权公布号:CN107785780B
供配电模块
有效
申请
2016-08-31
申请公布
2018-03-09
授权
2024-01-16
预估到期
2036-08-31
| 申请号 | CN201610781166.0 |
| 申请日 | 2016-08-31 |
| 申请公布号 | CN107785780A |
| 申请公布日 | 2018-03-09 |
| 授权公布号 | CN107785780B |
| 授权公告日 | 2024-01-16 |
| 分类号 | H02B1/00;H02G5/00 |
| 分类 | 发电、变电或配电; |
| 申请人名称 | 上海汇珏网络通信设备股份有限公司 |
| 申请人地址 | 上海市奉贤区奉村路333号 |
专利法律状态
2024-01-16
授权
状态信息
授权
2019-08-09
著录事项变更
状态信息
著录事项变更;IPC(主分类):H02B1/00;变更事项:申请人;变更前:上海汇珏网络通信设备有限公司;变更后:上海汇珏网络通信设备股份有限公司;变更事项:地址;变更前:201406 上海市奉贤区青村镇光明经济园区金钱公路3368号;变更后:201414 上海市奉贤区奉村路333号;变更事项:申请人;变更前:海安汇珏网络通信设备有限公司;变更后:海安汇珏网络通信设备有限公司
2019-08-09
专利申请权、专利权的转移
状态信息
专利申请权的转移;IPC(主分类):H02B1/00;登记生效日:20190719;变更事项:申请人;变更前:上海汇珏网络通信设备股份有限公司;变更后:上海汇珏网络通信设备股份有限公司;变更事项:地址;变更前:201414 上海市奉贤区奉村路333号;变更后:201414 上海市奉贤区奉村路333号;变更事项:申请人;变更前:海安汇珏网络通信设备有限公司
2018-04-03
实质审查的生效
状态信息
实质审查的生效;IPC(主分类):H02B1/00;申请日:20160831
2018-03-09
公布
状态信息
公布
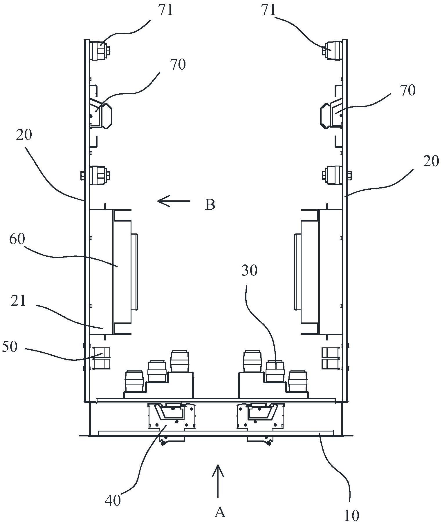
摘要
本发明公开了一种供配电模块,其包括正面支架和侧面支架;正面支架上设有主进线铜排和断路器组件,断路器组件包括若干微型断路器,每个微型断路器均分别与主进线铜排电连接;侧面支架上依次设有互感器组件、采集监控模块、输出端子排组件,其中,互感器组件最靠近正面支架;互感器组件包括若干电流互感器,输出端子排组件包括若干输出端子台;每个微型断路器均通过电缆线连接于一个输出端子台,电缆线穿设于电流互感器;每个微型断路器均通过信号线连接于采集监控模块;每个电流互感器均电连接于采集监控模块。本发明的供配电模块合理布局,节约空间,配电容量更大;布线简单,避免了安全隐患。


