授权公布号:CN109559714B
次中音鼓
有效
申请
2017-09-27
申请公布
2019-04-02
授权
2024-01-05
预估到期
2037-09-27
| 申请号 | CN201710887372.4 |
| 申请日 | 2017-09-27 |
| 申请公布号 | CN109559714A |
| 申请公布日 | 2019-04-02 |
| 授权公布号 | CN109559714B |
| 授权公告日 | 2024-01-05 |
| 分类号 | G10D13/02;G10G5/00 |
| 分类 | 乐器;声学; |
| 申请人名称 | 天津市津宝乐器有限公司 |
| 申请人地址 | 天津市宝坻区海泰路1-2号 |
专利法律状态
2024-01-05
授权
状态信息
授权
2019-04-26
实质审查的生效
状态信息
实质审查的生效;IPC(主分类):G10D13/02;申请日:20170927
2019-04-02
公布
状态信息
公布
摘要
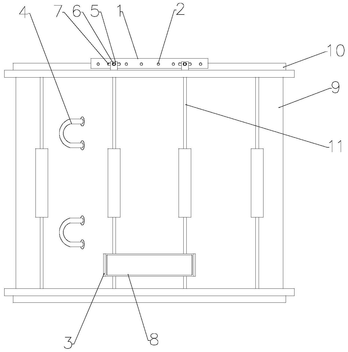
本发明公开了一种次中音鼓,其包括鼓皮、鼓腔、鼓圈以及拉紧杆,所述鼓皮通过鼓圈扣装在鼓腔上,鼓圈通过拉紧杆与鼓腔固定连接,安装在鼓腔上部的鼓圈上设有一挂钩板,所述挂钩板上形成有多个用于与背带上的挂钩相连接的挂钩孔,所述挂钩板下方设有一用于支撑腿部的支撑板,所述鼓腔的外壁上上下对应地设有两个用于与背架连接的挂环。本发明中两个挂环的设计可与背架连接,挂钩板的设计可与背带连接,使得次中音鼓具备两种背鼓方式,提升了产品的品质,满足了市场需求。


