授权公布号:CN204228330U
一种电梯轿厢重心自动测量平台
有效
申请
2014-11-04
申请公布
1970-01-01
授权
2015-03-25
预估到期
2024-11-04
| 申请号 | CN201420652899.0 |
| 申请日 | 2014-11-04 |
| 授权公布号 | CN204228330U |
| 授权公告日 | 2015-03-25 |
| 分类号 | G01M1/12 |
| 分类 | 测量;测试; |
| 申请人名称 | 辛格林电梯有限公司 |
| 申请人地址 | 广东省佛山市三水区乐平镇智信大道2号1座 |
专利法律状态
2023-07-11
专利权人的姓名或者名称、地址的变更
状态信息
专利权人的姓名或者名称、地址的变更;IPC(主分类):G01M1/12;专利号:ZL2014206528990;变更事项:专利权人;变更前:辛格林电梯(中国)有限公司;变更后:辛格林电梯有限公司;变更事项:地址;变更前:528000 广东省佛山市南海区狮山镇小塘三环西路工业园区(厂房4);变更后:528000 广东省佛山市三水区乐平镇智信大道2号1座
2023-07-11
专利权人的姓名或者名称、地址的变更
状态信息
专利权人的姓名或者名称、地址的变更;IPC(主分类):G01M1/12;变更事项:专利权人;变更前:辛格林电梯(中国)有限公司;变更后:辛格林电梯有限公司;变更事项:地址;变更前:528000 广东省佛山市南海区狮山镇小塘三环西路工业园区(厂房4);变更后:528000 广东省佛山市三水区乐平镇智信大道2号1座
2018-10-26
文件的公告送达
状态信息
文件的公告送达;IPC(主分类):G01M1/12;收件人:朱凤林;文件名称:退款审批通知书
2016-02-03
专利权人的姓名或者名称、地址的变更
状态信息
专利权人的姓名或者名称、地址的变更;IPC(主分类):G01M1/12;变更事项:专利权人;变更前:广东辛格林电梯有限公司;变更后:辛格林电梯(中国)有限公司;变更事项:地址;变更前:528000 广东省佛山市南海区狮山镇小塘三环西路工业园区(厂房4);变更后:528000 广东省佛山市南海区狮山镇小塘三环西路工业园区(厂房4)
2015-03-25
授权
状态信息
授权
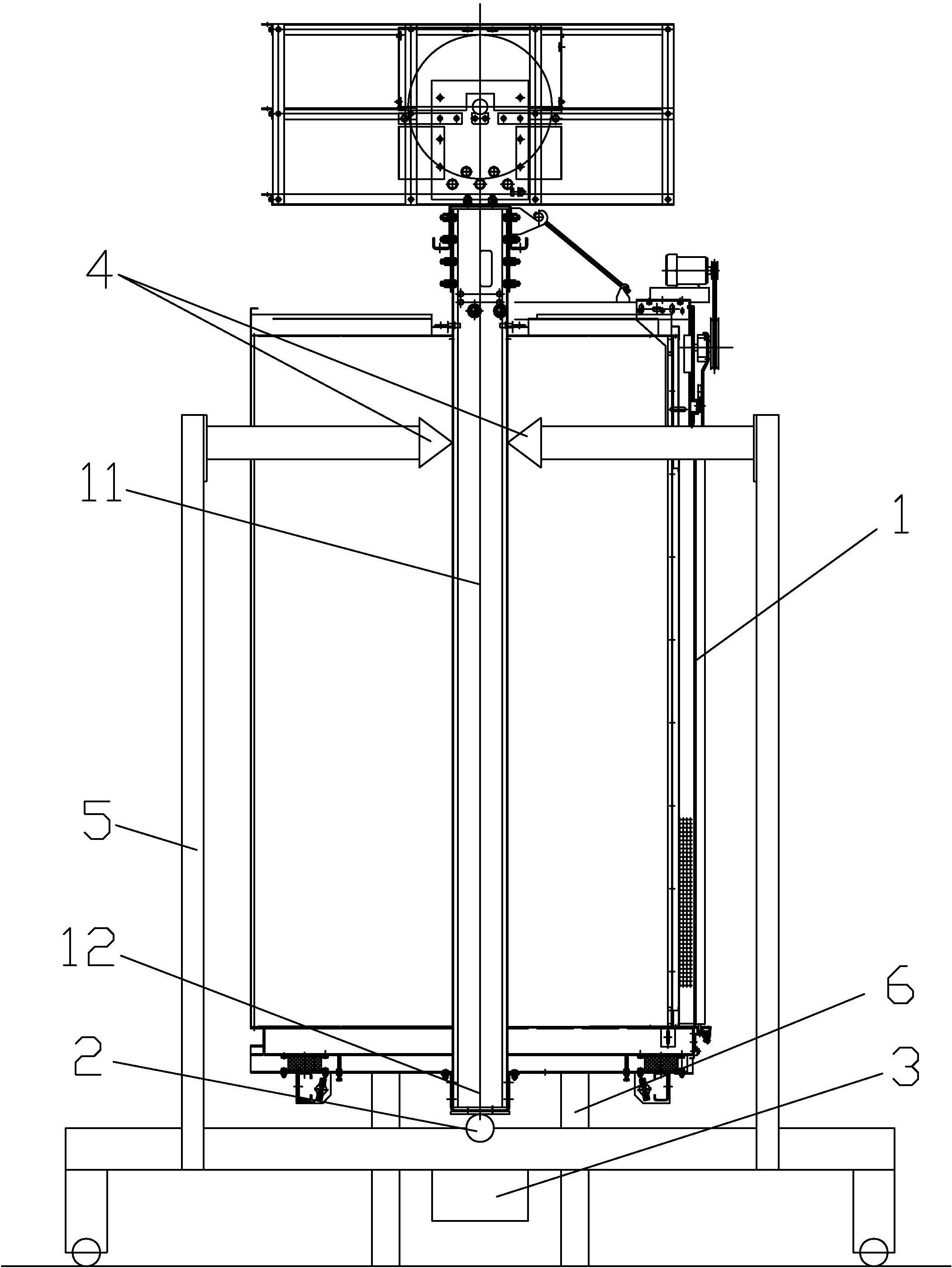
摘要
本实用新型公开了一种电梯轿厢重心自动测量平台,包括位于待测轿厢底部并支撑起轿厢的平衡杆、带动平衡杆左右移动的移动机构以及位于待测轿厢立柱两旁的压力传感器,所述压力传感器和移动机构的控制端均与一控制系统连接,控制系统根据压力传感器的压力数值调节平衡杆的位置直至两旁压力传感器的压力数值一致。本平台可对出厂的每一个轿厢进行检测,以确定轿厢的重心并进行标记,然后在安装过程中,调整导轨的位置使其位于轿厢的重心位置,从而降低了导靴的损耗,延长了电梯的使用寿命。


