授权公布号:CN204224020U
一种电梯缓冲器安装调节装置
有效
申请
2014-11-04
申请公布
1970-01-01
授权
2015-03-25
预估到期
2024-11-04
| 申请号 | CN201420652898.6 |
| 申请日 | 2014-11-04 |
| 授权公布号 | CN204224020U |
| 授权公告日 | 2015-03-25 |
| 分类号 | B66B5/28 |
| 分类 | 卷扬;提升;牵引; |
| 申请人名称 | 辛格林电梯有限公司 |
| 申请人地址 | 广东省佛山市三水区乐平镇智信大道2号1座 |
专利法律状态
2023-06-27
专利权人的姓名或者名称、地址的变更
状态信息
专利权人的姓名或者名称、地址的变更;IPC(主分类):B66B5/28;变更事项:专利权人;变更前:辛格林电梯(中国)有限公司;变更后:辛格林电梯有限公司;变更事项:地址;变更前:528000 广东省佛山市南海区狮山镇小塘三环西路工业园区(厂房4);变更后:528000 广东省佛山市三水区乐平镇智信大道2号1座
2018-10-26
文件的公告送达
状态信息
文件的公告送达;IPC(主分类):B66B5/28;收件人:朱凤林;文件名称:退款审批通知书
2016-02-10
专利权人的姓名或者名称、地址的变更
状态信息
专利权人的姓名或者名称、地址的变更;IPC(主分类):B66B5/28;变更事项:专利权人;变更前:广东辛格林电梯有限公司;变更后:辛格林电梯(中国)有限公司;变更事项:地址;变更前:528000 广东省佛山市南海区狮山镇小塘三环西路工业园区(厂房4);变更后:528000 广东省佛山市南海区狮山镇小塘三环西路工业园区(厂房4)
2015-03-25
授权
状态信息
授权
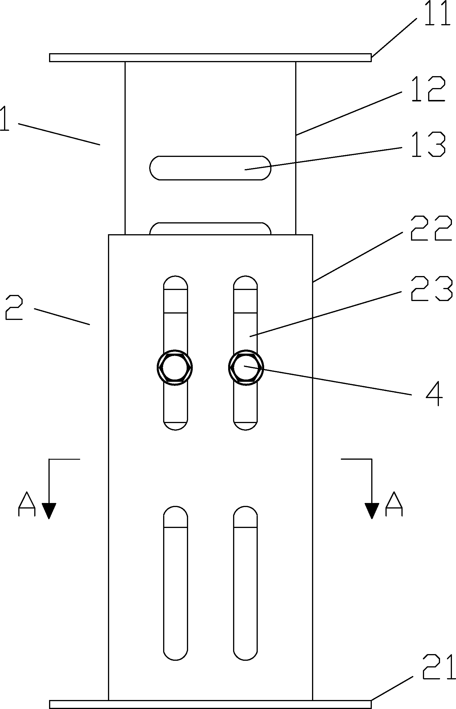
摘要
本实用新型公开了一种电梯缓冲器安装调节装置,包括上、下连接件,所述上连接件包括用于支撑缓冲器的支撑板和位于支撑板底部的上连接杆,所述上连接杆上设有多个槽孔Ⅰ,多个槽孔Ⅰ之间水平间隔设置,所述下连接件包括用于连接地面的连接板和位于连接板上方的下连接杆,所述下连接杆上设有多个槽孔Ⅱ,多个槽孔Ⅱ之间竖直间隔设置,上、下连接杆之间通过可穿过槽孔Ⅰ、Ⅱ的螺栓相互连接。本实用新型的上连接件用于连接缓冲器,下连接件用于连接地面,上下连接件之间通过螺栓连接,当需要缓冲器的高度时,只需拧松螺栓,调节上下连接件的相对位置,然后再将螺栓拧紧即可,使用方便简单、安装快捷,节省了人力物力。


