授权公布号:CN203855258U
一种带人机对话无障碍电梯
有效
申请
2014-04-24
申请公布
1970-01-01
授权
2014-10-01
预估到期
2024-04-24
| 申请号 | CN201420203861.5 |
| 申请日 | 2014-04-24 |
| 授权公布号 | CN203855258U |
| 授权公告日 | 2014-10-01 |
| 分类号 | B66B1/14;B66B5/00 |
| 分类 | 卷扬;提升;牵引; |
| 申请人名称 | 辛格林电梯有限公司 |
| 申请人地址 | 广东省佛山市三水区乐平镇智信大道2号1座 |
专利法律状态
2023-06-27
专利权人的姓名或者名称、地址的变更
状态信息
专利权人的姓名或者名称、地址的变更;IPC(主分类):B66B1/14;变更事项:专利权人;变更前:辛格林电梯(中国)有限公司;变更后:辛格林电梯有限公司;变更事项:地址;变更前:528000 广东省佛山市南海区狮山镇小塘三环西路工业园区(厂房4);变更后:528000 广东省佛山市三水区乐平镇智信大道2号1座
2018-10-26
文件的公告送达
状态信息
文件的公告送达;IPC(主分类):B66B1/14;收件人:朱凤林;文件名称:退款审批通知书
2016-02-03
专利权人的姓名或者名称、地址的变更
状态信息
专利权人的姓名或者名称、地址的变更;IPC(主分类):B66B1/14;变更事项:专利权人;变更前:广东辛格林电梯有限公司;变更后:辛格林电梯(中国)有限公司;变更事项:地址;变更前:528000 广东省佛山市南海区狮山镇小塘三环西路工业园区(厂房4);变更后:528000 广东省佛山市南海区狮山镇小塘三环西路工业园区(厂房4)
2014-10-01
授权
状态信息
授权
摘要
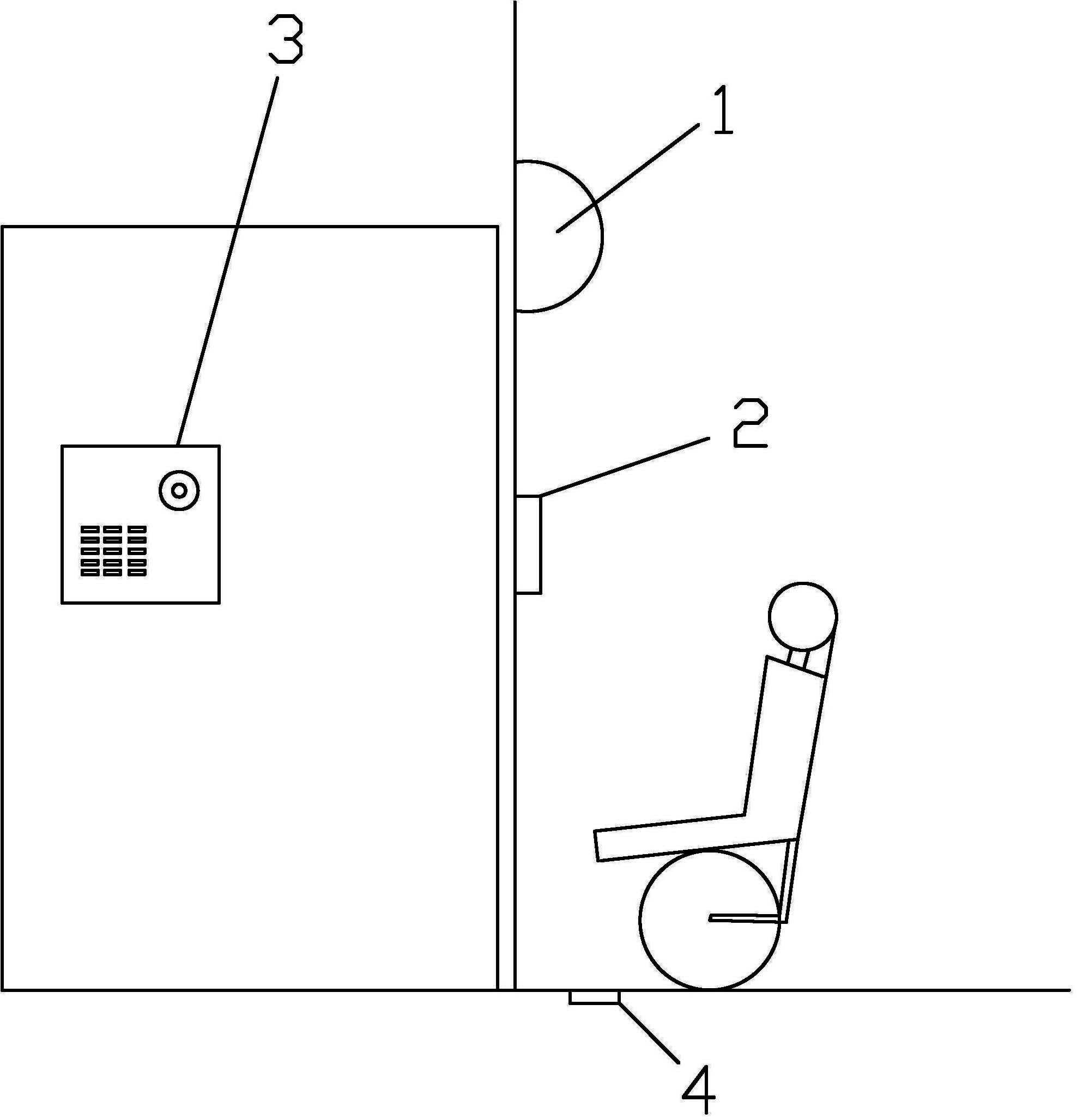
本实用新型公开了一种带人机对话无障碍电梯,包括安装在电梯门口的身高检测装置、语音对讲装置Ⅰ以及安装在电梯轿厢内的语音对讲装置Ⅱ,身高检测装置的信号输出端分别与语音对讲装置Ⅰ和语音对讲装置Ⅱ连接,所述语音对讲装置Ⅰ的信号输出端与上行或下行按键控制端连接,所述语音对讲装置Ⅱ的信号输出端与电梯楼层控制器连接。本实用新型通过身高检测装置检测在电梯门口等电梯人物的身高,判断为残疾人或儿童,语音对讲装置Ⅰ发出语音提示,当残疾人或儿童进入轿厢后,语音对讲装置Ⅱ发出语音提示,从而达到了声控电梯的效果,整个装置结构简单,生产成本低。


