授权公布号:CN204490255U
一种应用于斜行电梯上的导轨结构
有效
申请
2015-02-10
申请公布
1970-01-01
授权
2015-07-22
预估到期
2025-02-10
| 申请号 | CN201520099823.4 |
| 申请日 | 2015-02-10 |
| 授权公布号 | CN204490255U |
| 授权公告日 | 2015-07-22 |
| 分类号 | B66B7/02 |
| 分类 | 卷扬;提升;牵引; |
| 申请人名称 | 辛格林电梯有限公司 |
| 申请人地址 | 广东省佛山市三水区乐平镇智信大道2号1座 |
专利法律状态
2023-06-27
专利权人的姓名或者名称、地址的变更
状态信息
专利权人的姓名或者名称、地址的变更;IPC(主分类):B66B7/02;变更事项:专利权人;变更前:辛格林电梯(中国)有限公司;变更后:辛格林电梯有限公司;变更事项:地址;变更前:528000 广东省佛山市南海区狮山镇小塘三环西路工业园区(厂房4);变更后:528000 广东省佛山市三水区乐平镇智信大道2号1座
2018-10-23
文件的公告送达
状态信息
文件的公告送达;IPC(主分类):B66B7/02;收件人:朱凤林;文件名称:退款审批通知书
2016-02-10
专利权人的姓名或者名称、地址的变更
状态信息
专利权人的姓名或者名称、地址的变更;IPC(主分类):B66B7/02;变更事项:专利权人;变更前:广东辛格林电梯有限公司;变更后:辛格林电梯(中国)有限公司;变更事项:地址;变更前:528000 广东省佛山市南海区狮山镇小塘三环西路工业园区(厂房4);变更后:528000 广东省佛山市南海区狮山镇小塘三环西路工业园区(厂房4)
2015-07-22
授权
状态信息
授权
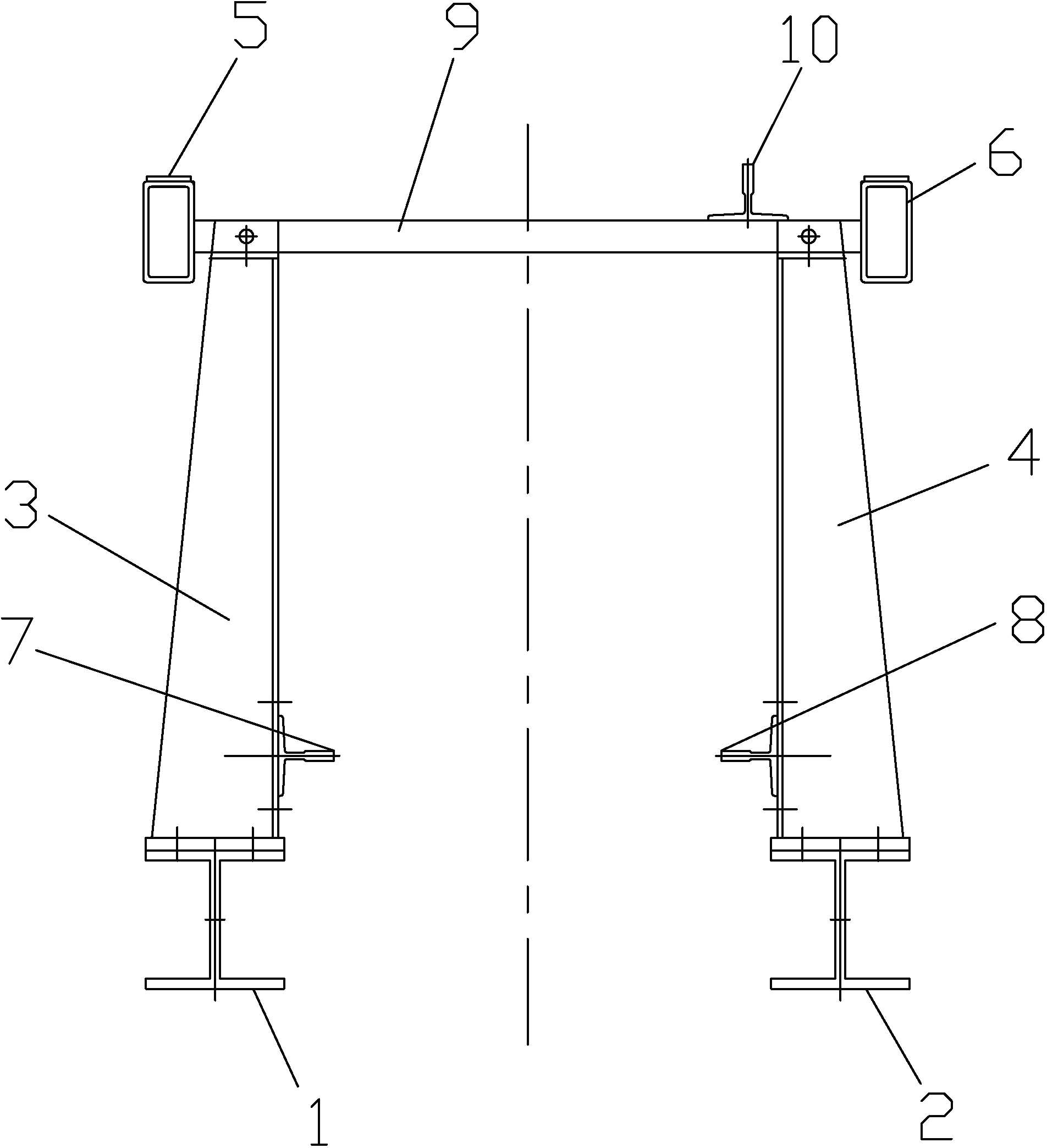
摘要
本实用新型公开了一种应用于斜行电梯上的导轨结构,包括底部的左、右底梁、分别安装在左、右底梁上的左、右支撑架以及分别安装在左、右支撑架上方的左、右轿厢导轨,所述左、右支撑架的侧壁分别设有左、右对重导轨,左、右支撑架之间通过横梁相互连接。本实用新型分为上层的轿厢导轨、中部的对重导轨以及底部的底梁,轿厢导轨与对重导轨之间采用支撑架连接,其结构简单、合理,并且左、右轿厢导轨由方钢制成,结构强度高,连接稳固,安全性能强。


