授权公布号:CN218967778U
一种仓体链板式破拱装置
有效
申请
2022-11-18
申请公布
1970-01-01
授权
2023-05-05
预估到期
2032-11-18
| 申请号 | CN202223073382.X |
| 申请日 | 2022-11-18 |
| 授权公布号 | CN218967778U |
| 授权公告日 | 2023-05-05 |
| 分类号 | B65D88/68 |
| 分类 | 输送;包装;贮存;搬运薄的或细丝状材料; |
| 申请人名称 | 山东宇龙机械有限公司 |
| 申请人地址 | 山东省济南市章丘区绣惠工业园 |
专利法律状态
2023-05-05
授权
状态信息
授权
摘要
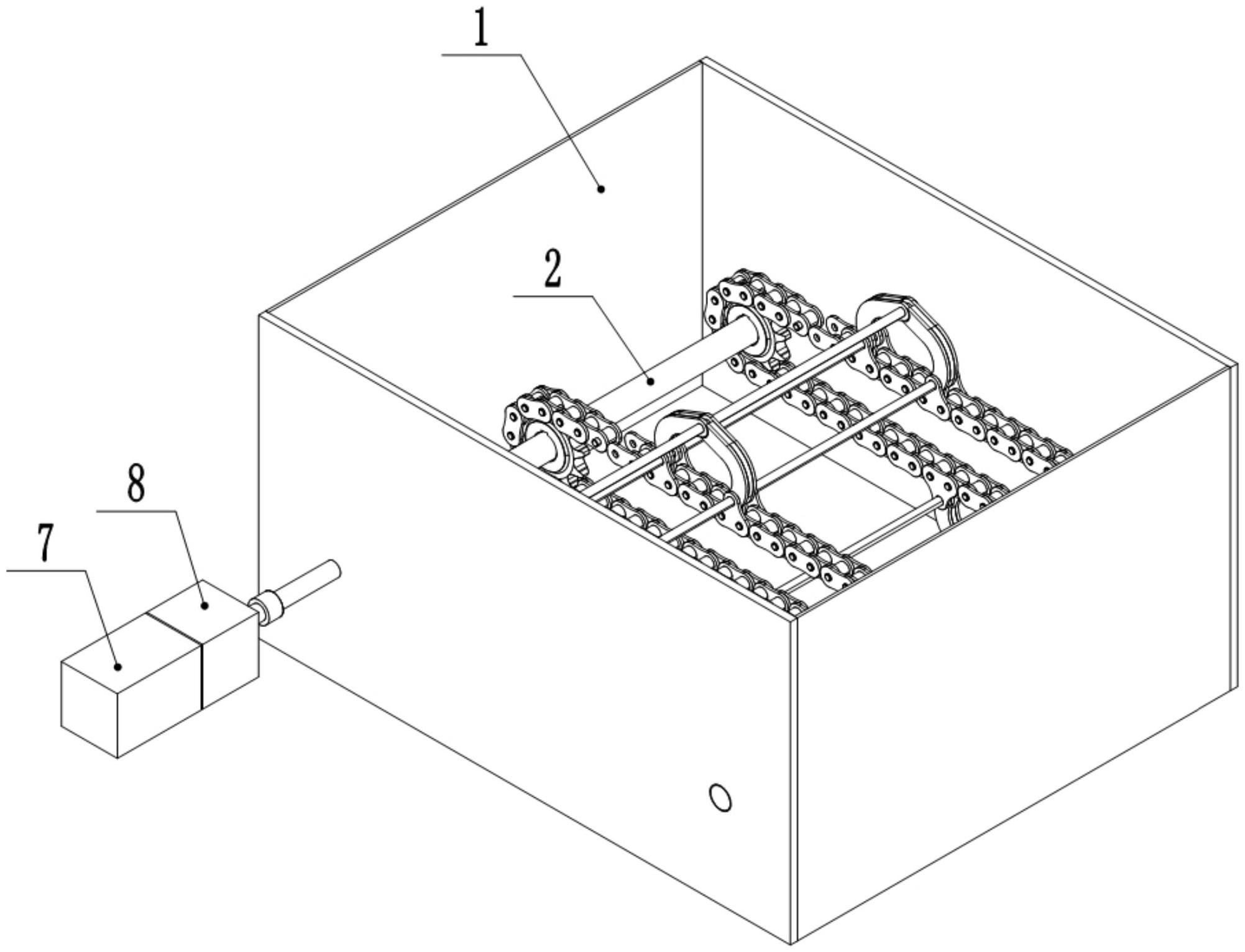
本实用新型公开了一种仓体链板式破拱装置,包括仓体,所述仓体外部设有动力组件,所述仓体内部设有搅动组件,所述动力组件与搅动组件连接;所述搅动组件包括驱动轴、从动轴和若干根转动链条,所述仓体的前侧端面和后侧端面对称设有主动轴承座和被动轴承座,所述驱动轴的两端分别与主动轴承座配合,所述从动轴的两端分别与被动轴承座配合,所述驱动轴上设有多个主动链轮,所述从动轴上设有与主动链轮对应的从轮链轮,所述主动链轮和从动链轮通过转动链条连接。本实用新型能够对仓体的内部超细粉状物料进行搅动,使得超细粉状物料始终处于运动状态,超细粉状物料没有静态堆积的时间,从而实现对超细粉状物料的破拱。


