授权公布号:CN207527561U
一种微型燃烧机
有效
申请
2017-11-14
申请公布
1970-01-01
授权
2018-06-22
预估到期
2027-11-14
| 申请号 | CN201721522217.4 |
| 申请日 | 2017-11-14 |
| 授权公布号 | CN207527561U |
| 授权公告日 | 2018-06-22 |
| 分类号 | F23B40/00;F23L1/00;F23K3/16 |
| 分类 | 燃烧设备;燃烧方法; |
| 申请人名称 | 山东宇龙机械有限公司 |
| 申请人地址 | 山东省济南市章丘区绣惠街道办事处杜洪李村 |
专利法律状态
2020-06-12
专利权人的姓名或者名称、地址的变更
状态信息
专利权人的姓名或者名称、地址的变更 IPC(主分类):F23B40/00 变更前专利权人:章丘市宇龙机械有限公司 变更前地址:250201 山东省济南市章丘区绣惠街道办事处杜洪李村 变更后专利权人:山东宇龙机械有限公司 变更后地址:250000 山东省济南市章丘区绣惠街道办事处杜洪李村
2020-06-02
专利权人的姓名或者名称、地址的变更
状态信息
专利权人的姓名或者名称、地址的变更 IPC(主分类):F23B40/00 变更前专利权人:章丘市宇龙机械有限公司 变更前地址:250201 山东省济南市章丘区绣惠街道办事处杜洪李村 变更后专利权人:山东宇龙机械有限公司 变更后地址:250000 山东省济南市章丘区绣惠街道办事处杜洪李村
2018-06-22
授权
状态信息
授权
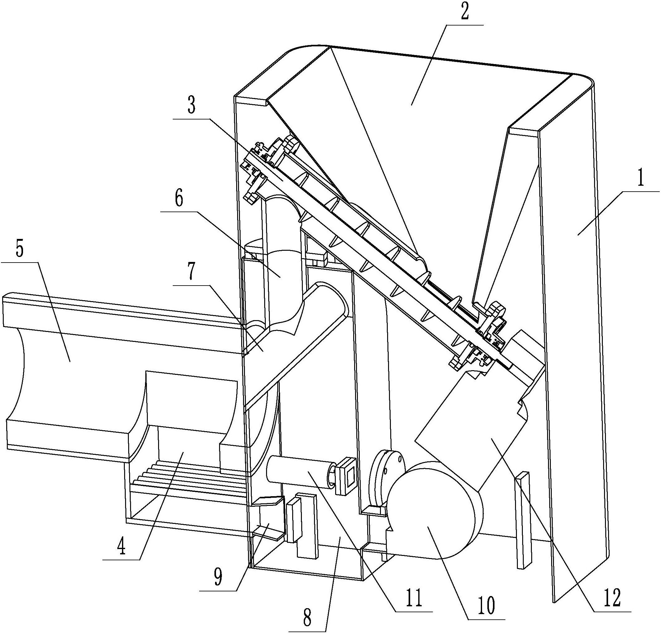
摘要
本实用新型公开的一种微型燃烧机,包括燃烧机壳体、料仓、燃烧室、将生物质颗粒输送到燃烧室的上料绞龙和进料管道、出火口,燃烧室和出火口位于燃烧机壳体左侧,所述进料管道包括第一进料管道和第二进料管道,第一进料管道下端与第二进料管道中间部位连通,第二进料管道倾斜设置;还包括配风室,第二进料管道上端位于配风室内,第二进料管道下端与燃烧室连通,配风室下端设有进风口,配风室通过进风口与燃烧室连通。将第二进料管道上端设置在配风室内,第二进料管道下端与燃烧室连通,使得设备结构简单,质量降低,方便搬运。


