授权公布号:CN205020047U
一种制粒机环模用夹紧装置
有效
申请
2015-09-18
申请公布
1970-01-01
授权
2016-02-10
预估到期
2025-09-18
| 申请号 | CN201520724590.2 |
| 申请日 | 2015-09-18 |
| 授权公布号 | CN205020047U |
| 授权公告日 | 2016-02-10 |
| 分类号 | B01J2/22;A23N17/00 |
| 分类 | 一般的物理或化学的方法或装置; |
| 申请人名称 | 溧阳市华生机械制造有限公司 |
| 申请人地址 | 江苏省常州市溧阳市社渚镇环镇西路18号 |
专利法律状态
2016-02-10
授权
状态信息
授权
摘要
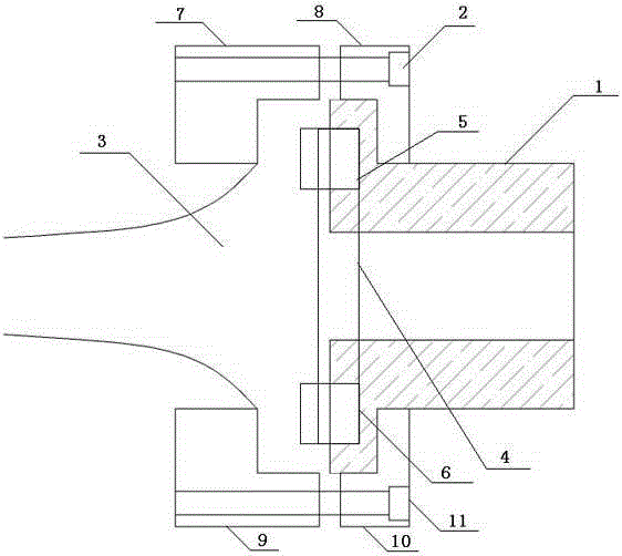
本实用新型涉及一种制粒机环模用夹紧装置,包括环模、孔轴和压模罩,压模罩与环模相连,环模与孔轴相连,其中孔轴的上端设有上半角抱箍一,压模罩的上端设有上半角抱箍二,孔轴的下端设有下半角抱箍一,压模罩的下端设有上半角抱箍二,上半角抱箍一和上半角抱箍二通过内六角螺丝一进行固定,下半角抱箍一和下半角抱箍二通过内六角螺丝二进行固定。本实用新型结构简单、设计合理,通过对抱箍的设计,用内六角螺丝进行夹紧,能够有效的对环模进行固定的同时,保证了环模在使用的过程中不易开裂,大大延长了环模的使用寿命。


