授权公布号:CN208928101U
一种新型耐用的压辊总成
有效
申请
2018-07-27
申请公布
1970-01-01
授权
2019-06-04
预估到期
2028-07-27
| 申请号 | CN201821259394.2 |
| 申请日 | 2018-07-27 |
| 授权公布号 | CN208928101U |
| 授权公告日 | 2019-06-04 |
| 分类号 | B01J2/22 |
| 分类 | 一般的物理或化学的方法或装置; |
| 申请人名称 | 江苏金梧实业股份有限公司 |
| 申请人地址 | 江苏省常州市溧阳市泓盛路568号(江苏中关村科技产业园内) |
专利法律状态
2019-06-04
授权
状态信息
授权
摘要
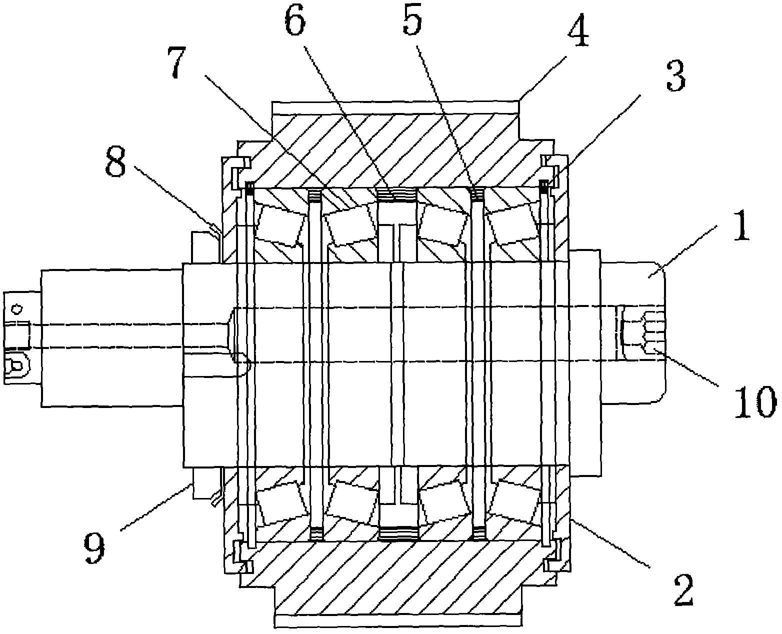
本实用新型公开了一种新型耐用的压辊总成,包括压辊轴,所述压辊轴的内部设置有喉塞螺丝,且压辊轴的外部设置有圆锥滚子轴承,所述圆锥滚子轴承的中间位置设置有第二隔圈,所述第二隔圈的左右两侧分别对称设置有第一隔圈,两个所述第一隔圈远离第二隔圈的一侧均设置有孔用挡圈,所述圆锥滚子轴承的外部设置有压辊壳,所述压辊壳的左右两侧边分别对称设置有端盖,一侧所述端盖远离压辊壳的一侧设置有止动垫圈;本实用新型内部设有圆锥滚子轴承,其能够支持一定的轴向力,从而延长了轴承以及压辊壳的使用寿命;本实用新型提高了压辊总成的密封性,使黄油用量相对减少,有效防止黄油的大量浪费,而且容易封存。


