授权公布号:CN212492803U
一种圆筒无死角秸秆造粒机分料仓
有效
申请
2020-05-29
申请公布
1970-01-01
授权
2021-02-09
预估到期
2030-05-29
| 申请号 | CN202020948717.X |
| 申请日 | 2020-05-29 |
| 授权公布号 | CN212492803U |
| 授权公告日 | 2021-02-09 |
| 分类号 | B01J2/00;C10L5/44 |
| 分类 | 一般的物理或化学的方法或装置; |
| 申请人名称 | 山东金格瑞机械有限公司 |
| 申请人地址 | 山东省济南市章丘市明水经济开发区城东工业园 |
专利法律状态
2021-02-09
授权
状态信息
授权
摘要
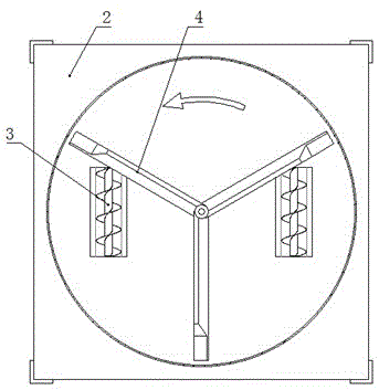
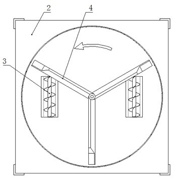
本实用新型公开一种圆筒无死角秸秆造粒机分料仓,包括圆筒仓体,所述圆筒仓体下方连接有多个颗粒机喂料器,所述圆筒仓体内转动连接有防蓬料搅拌轴,所述防蓬料搅拌轴连接有多个搅拌叶片,所述搅拌叶片沿防蓬料搅拌轴向外延伸起始端的横截面为直角梯形,所述搅拌叶片的末端为扁平状。该分料仓的圆筒仓体内物料为圆周搅动,无运行死角,不会出现挤压成团或成块的问题,提高了输送传递的稳定性及高效性;对操作人员经验要求低,分料仓与喂料器能够达到最佳匹配,实现能耗均衡分配。


