授权公布号:CN212549442U
一种立式环模颗粒机除蒸汽进料口
有效
申请
2020-05-15
申请公布
1970-01-01
授权
2021-02-19
预估到期
2030-05-15
| 申请号 | CN202020809952.9 |
| 申请日 | 2020-05-15 |
| 授权公布号 | CN212549442U |
| 授权公告日 | 2021-02-19 |
| 分类号 | B01J2/22 |
| 分类 | 一般的物理或化学的方法或装置; |
| 申请人名称 | 山东金格瑞机械有限公司 |
| 申请人地址 | 山东省济南市章丘市明水经济开发区城东工业园 |
专利法律状态
2021-02-19
授权
状态信息
授权
摘要
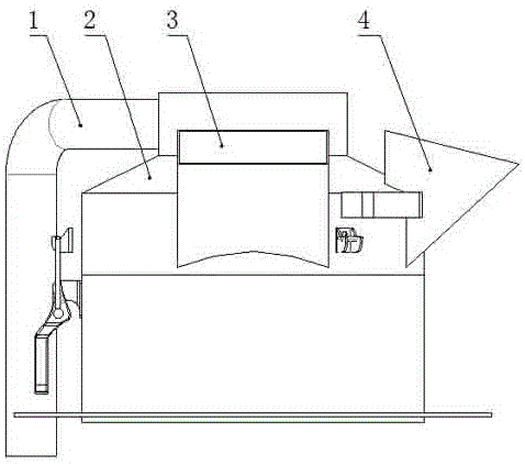
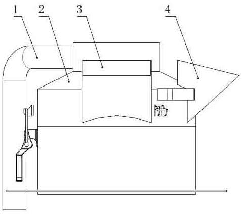
本实用新型公开一种立式环模颗粒机除蒸汽进料口,包括颗粒机筒体,所述颗粒机筒体的上部侧壁设置有进料口和观察窗,所述进料口的轴线与竖直面呈设定角度倾斜设置,所述进料口连接有进料斗,所述进料斗的顶部截面积大于底部截面积,所述颗粒机筒体的顶端连通有抽蒸汽管。该装置可以使原材料通过倾斜进料口滑入造粒室,降低原料与蒸汽路径的对撞;保证产生蒸汽及时排出,提高原材料水分的稳定性,提高颗粒成型率及外观造型美观、减少裂纹。


