授权公布号:CN209832715U
一种新型饲草压块机
有效
申请
2019-04-19
申请公布
1970-01-01
授权
2019-12-24
预估到期
2029-04-19
| 申请号 | CN201920540791.5 |
| 申请日 | 2019-04-19 |
| 授权公布号 | CN209832715U |
| 授权公告日 | 2019-12-24 |
| 分类号 | B30B9/28;B30B1/32 |
| 分类 | 压力机; |
| 申请人名称 | 山东鸿景机械股份有限公司 |
| 申请人地址 | 山东省济南市章丘区相公庄街道牛一村工业园 |
专利法律状态
2020-06-05
专利权人的姓名或者名称、地址的变更
状态信息
专利权人的姓名或者名称、地址的变更 IPC(主分类):B30B9/28 变更前专利权人:济南鸿景机械有限公司 变更前地址:250203 山东省济南市章丘区相公庄街道牛一村工业园 变更后专利权人:山东鸿景机械股份有限公司 变更后地址:250000 山东省济南市章丘区相公庄街道牛一村工业园
2019-12-24
授权
状态信息
授权
摘要
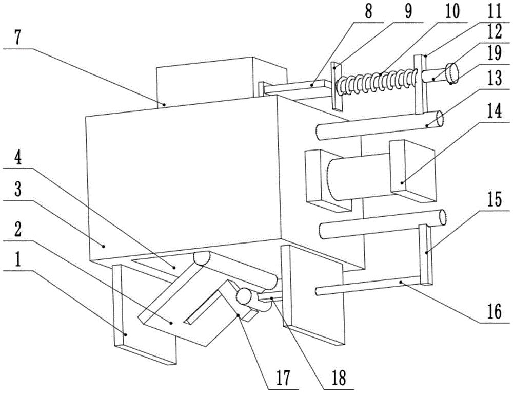
本实用新型涉及饲料加工技术领域,公开了一种新型饲草压块机,包括主体,主体下表面左侧设有卸料口,主体下表面中部转动连接底板,主体上表面右侧设有进料口,进料口上部设有进料板,所述主体中部滑动连接压板,压板上下两端固定连接导向杆,上端导向杆右侧固定连接第一推板,第一推板上部滑动连接推杆,推杆左端固定连接限位板,限位板左端固定连接挡板,下端导向杆右侧固定连接第二推板,第二推板下部固定连接第一连杆,第一连杆左端铰接第二连杆,第二连杆左端铰接滑块下部。本实用新型适用于饲草的压缩装置中,通过一个运动单元同时控制压板、底板和挡板三个部件的运动,使得整个装置结构更加紧凑,更加适合自由移动。


