授权公布号:CN218573790U
一种生物质颗粒粉碎装置
有效
申请
2022-11-30
申请公布
1970-01-01
授权
2023-03-07
预估到期
2032-11-30
| 申请号 | CN202223192314.5 |
| 申请日 | 2022-11-30 |
| 授权公布号 | CN218573790U |
| 授权公告日 | 2023-03-07 |
| 分类号 | B02C4/08;B02C18/14;B02C23/16;B07B1/34;B07B1/42;B07B1/46 |
| 分类 | 破碎、磨粉或粉碎;谷物碾磨的预处理; |
| 申请人名称 | 山东鸿景机械股份有限公司 |
| 申请人地址 | 山东省济南市章丘区相公庄街道牛一工业园 |
专利法律状态
2023-03-07
授权
状态信息
授权
摘要
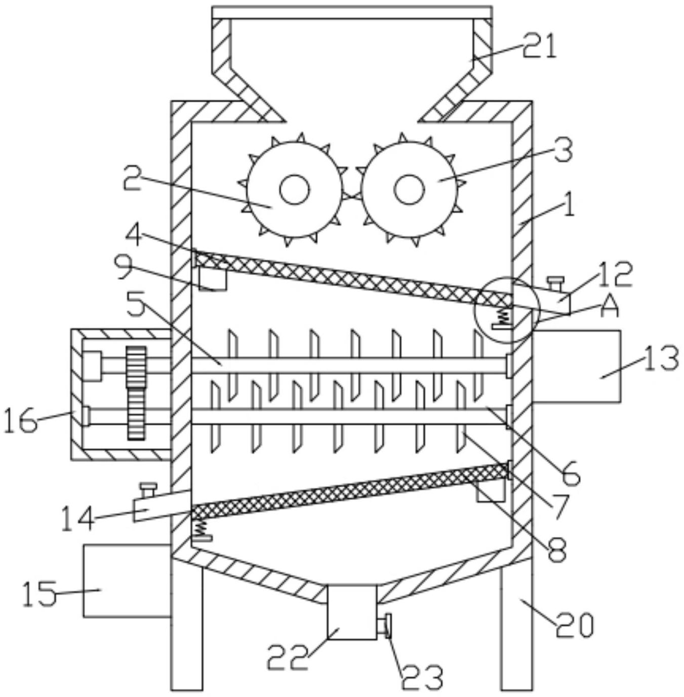
本实用新型公开了一种生物质颗粒粉碎装置,包括壳体,所述壳体内设有粉碎辊一和粉碎辊二,所述粉碎辊一和粉碎辊二下方设有筛分网一,所述筛分网一下方设有粉碎轴一和粉碎轴二,所述粉碎轴一和粉碎轴二均设有若干刀片,所述粉碎轴二下方设有筛分网二,本实用新型通过粉碎辊一和粉碎辊二对生物质进行初步粉碎,通过筛分网一进行初步筛分,通过粉碎轴一和粉碎轴二对生物质进行再次粉碎,通过筛分网二进行再次筛分,使生物质颗粒粉碎的更均匀,通过震动电机配合弹簧使筛分网一和筛分网二上下震动,防止筛分网一和筛分网二产生堵塞,影响筛分效果。


