授权公布号:CN213332669U
一种燃气电磁阀的阀瓣旋转连接弱摩擦机构
有效
申请
2020-06-22
申请公布
1970-01-01
授权
2021-06-01
预估到期
2030-06-22
| 申请号 | CN202021207427.6 |
| 申请日 | 2020-06-22 |
| 授权公布号 | CN213332669U |
| 授权公告日 | 2021-06-01 |
| 分类号 | F16K31/06;F16K25/00 |
| 分类 | 工程元件或部件;为产生和保持机器或设备的有效运行的一般措施;一般绝热; |
| 申请人名称 | 成都鑫豪斯电子探测技术有限公司 |
| 申请人地址 | 四川省成都市成华区龙潭工业园华盛路58号34栋 |
专利法律状态
2021-06-01
授权
状态信息
授权
摘要
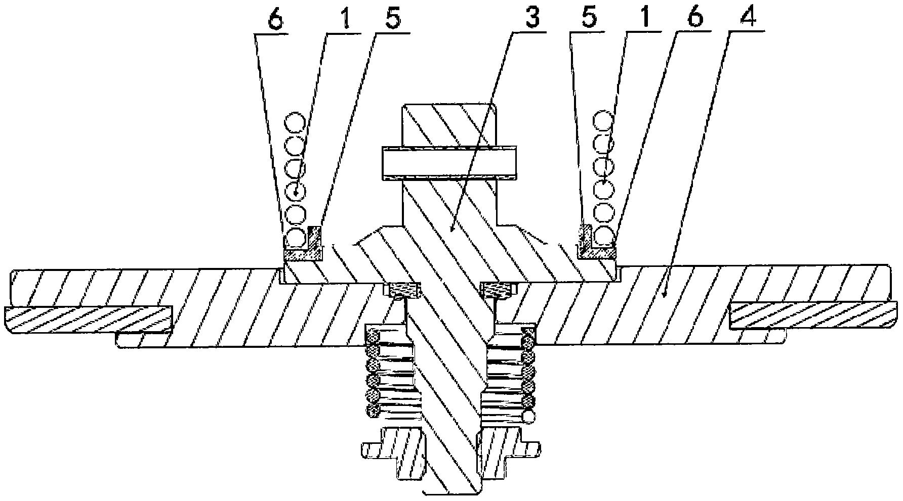
本实用新型公开了一种燃气电磁阀的阀瓣旋转连接弱摩擦机构,阀瓣安装在阀体上,阀瓣的上部圆周边缘设有径向截面为“L”形的环形槽,竖向且径向截面为“L”形的塑料圆筒体安装在环形槽上,塑料圆筒体的横向下底面与环形槽的横向槽底表面接触,塑料圆筒体的竖向内表面与环形槽的竖向槽壁表面接触,用于使阀瓣保持向下趋势应力的压簧的下端安装在塑料圆筒体的横向上底面上。本实用新型通过在阀瓣的环形槽与压簧之间安装塑料圆筒体,使压簧的下端与塑料接触,在旋转阀瓣过程中,压簧的下端与塑料圆筒体接触,其摩擦系数小于传统的金属接触,旋转阀瓣更加轻松,且不会使压簧发送形变。


