授权公布号:CN101695597B
泡沫灭火装置
有效
申请
2009-10-21
申请公布
2010-04-21
授权
2012-07-04
预估到期
2029-10-21
| 申请号 | CN200910110688.8 |
| 申请日 | 2009-10-21 |
| 申请公布号 | CN101695597A |
| 申请公布日 | 2010-04-21 |
| 授权公布号 | CN101695597B |
| 授权公告日 | 2012-07-04 |
| 分类号 | A62C35/11;A62C35/58;A62C5/02 |
| 分类 | 救生;消防; |
| 申请人名称 | 深圳市集安消防设备有限公司 |
| 申请人地址 | 广东省深圳市南山区西丽沁园路大勘工业区17号 |
专利法律状态
2012-07-04
授权
状态信息
授权
2010-06-02
实质审查的生效
状态信息
实质审查的生效IPC(主分类):A62C 35/11申请日:20091021
2010-04-21
公布
状态信息
公开
摘要
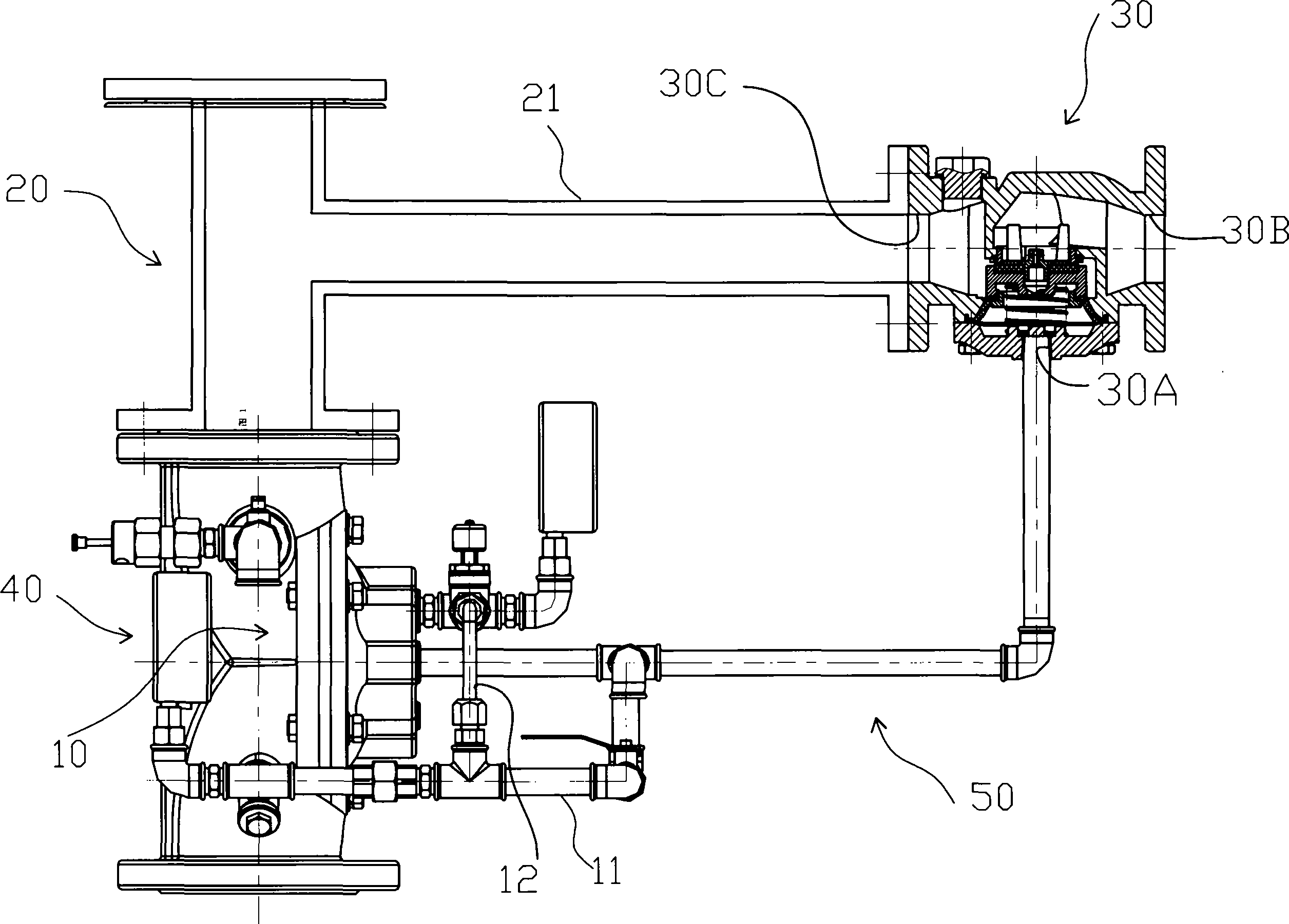
一种泡沫灭火装置,包括雨淋报警阀(10)及泡沫混合器(20),所述雨淋报警阀(10)与火灾控制器相连,泡沫混合器(20)连接于雨淋报警阀出口端,在泡沫混合器的输入管(21)上连接有水力控制阀(30),在雨淋报警阀入口端设有减压阀(40),在雨淋报警阀(10)与水力控制阀之间连接有使雨淋报警阀(10)与水力控制阀(30)通过水压联动启动的联动控制管路(50),在雨淋报警阀(10)上连接有控制管(11),该控制管(11)还分别与联动控制管路(50)及进水管(12)连接。本发明可通过联动控制管路排出的水压同时启动雨淋报警阀及水力控制阀,可实现同步启停,控制线路简单,易于调试,且控制线路简单、操作方便。


