授权公布号:CN215854991U
一种升降式平台梯
有效
申请
2021-08-26
申请公布
1970-01-01
授权
2022-02-18
预估到期
2031-08-26
| 申请号 | CN202122025551.1 |
| 申请日 | 2021-08-26 |
| 授权公布号 | CN215854991U |
| 授权公告日 | 2022-02-18 |
| 分类号 | B66F11/04;B66F17/00 |
| 分类 | 卷扬;提升;牵引; |
| 申请人名称 | 上海瑞居金属制品有限公司 |
| 申请人地址 | 上海市青浦区嘉松中路455弄89号 |
专利法律状态
2022-02-18
授权
状态信息
授权
摘要
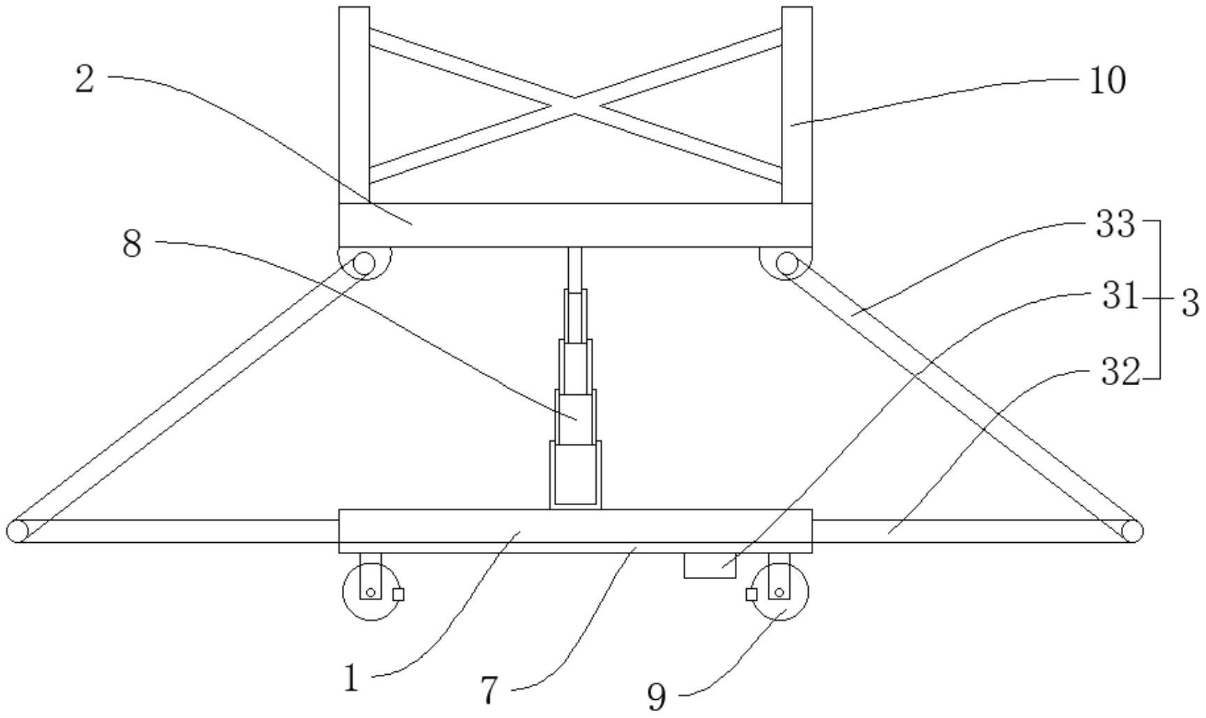
本实用新型提供的一种升降式平台梯,包括基座、升降台,所述基座与所述升降台之间固定设置有升降组件,其包括驱动件、伸缩件、连接杆,所述伸缩件的数量为两个,且分别固定设置于所述基座的两侧,两个所述伸缩件之间固定设置有传动件,用于动力的传输,所述驱动件固定设置于所述基座上,且所述驱动件的转轴与所述伸缩件传动连接,带动所述伸缩件沿基板长度方向伸出或收缩,所述连接杆的一端与升降台转动连接,另一端与所述伸缩件转动连接,所述升降台与所述基座之间固定设置有导向结构,本实用新型具有结构简单、便于空中作业人员的站立、可单人独立操作的效果。


