授权公布号:CN210350696U
一种有机防火槽盒
有效
申请
2019-10-12
申请公布
1970-01-01
授权
2020-04-17
预估到期
2029-10-12
| 申请号 | CN201921705550.8 |
| 申请日 | 2019-10-12 |
| 授权公布号 | CN210350696U |
| 授权公告日 | 2020-04-17 |
| 分类号 | H02G3/04 |
| 分类 | 发电、变电或配电; |
| 申请人名称 | 天津安盛达防火材料有限公司 |
| 申请人地址 | 天津市西青区中北镇大梁庄村委会北500米 |
专利法律状态
2020-04-17
授权
状态信息
授权
摘要
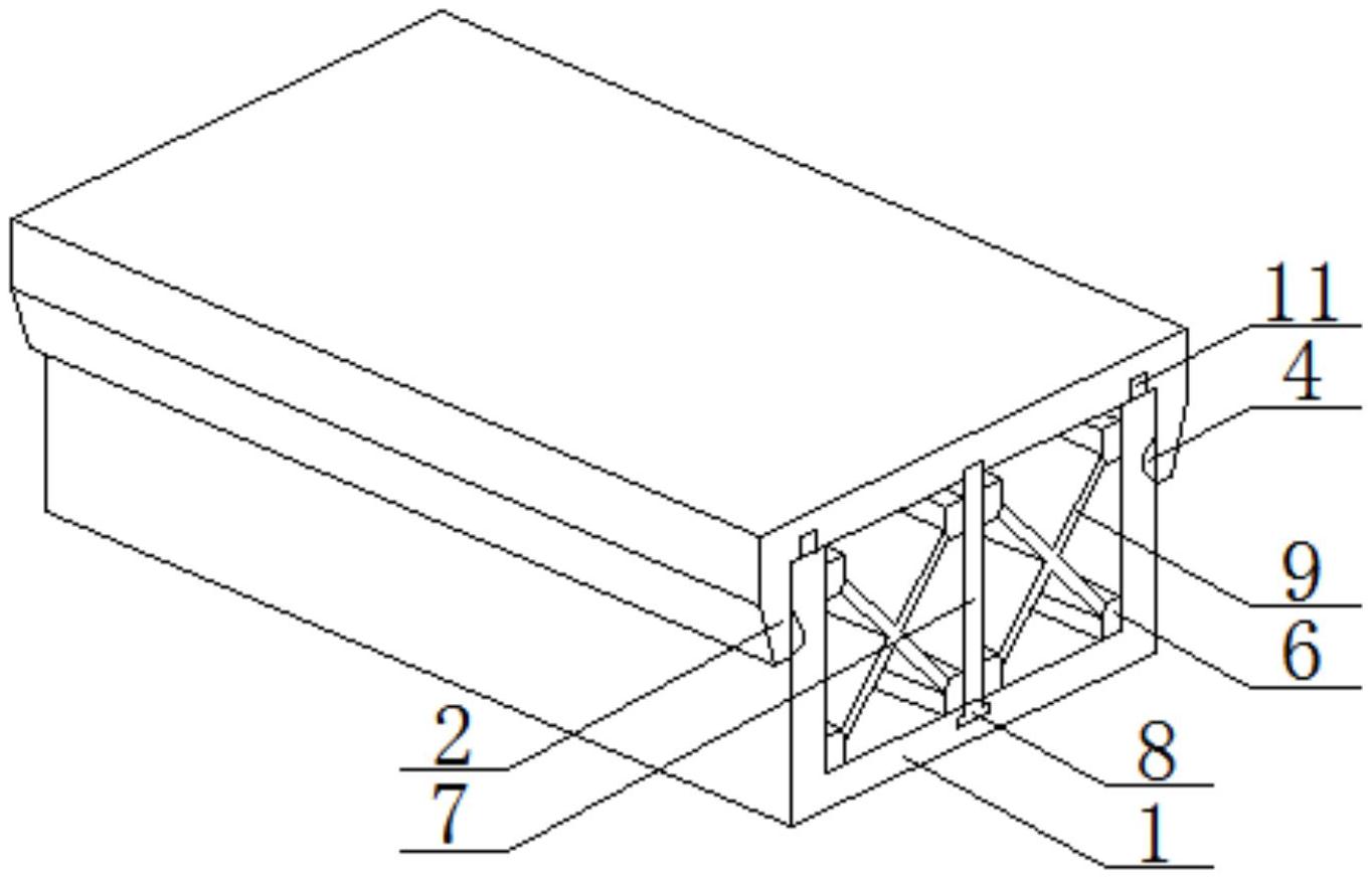
本实用新型公开了一种有机防火槽盒,包括U型块,所述U型块的上端设有U型板,所述U型块的上端中部设有滑槽,所述滑槽内安装有滑块,所述滑块和滑槽均呈T型设置,所述滑块的上端固定有竖板,所述U型块内的相对侧壁上和竖板的两侧均固定有两个固定块,同一侧的四个所述固定块的一端共同固定有隔离板,所述隔离板呈X型设置。本实用新型实现了将电缆分区铺设,从而避免了因单个电缆的自燃导致周围电缆受到影响的问题,有效的保护了电缆,安装方便,有较强的牢固性和稳定性,且具有较好的防火性能,有效的保护了电缆,方便检修,降低了成本,使用更安全。


