授权公布号:CN109107411B
一种浴室柜板材胶合制造用离心调胶装置及其调胶工艺
有效
申请
2018-10-26
申请公布
2019-01-01
授权
2023-12-19
预估到期
2038-10-26
| 申请号 | CN201811258749.0 |
| 申请日 | 2018-10-26 |
| 申请公布号 | CN109107411A |
| 申请公布日 | 2019-01-01 |
| 授权公布号 | CN109107411B |
| 授权公告日 | 2023-12-19 |
| 分类号 | B01F27/70;B01F27/72;B01F27/192;B01F23/00;B01F23/47;B01F35/71;C09J161/32;B01F101/36N |
| 分类 | 一般的物理或化学的方法或装置; |
| 申请人名称 | 浙江朵纳家居股份有限公司 |
| 申请人地址 | 浙江省台州市临海市沿江镇亭山村 |
专利法律状态
2023-12-19
授权
状态信息
授权
2021-12-14
著录事项变更
状态信息
著录事项变更;IPC(主分类):B01F7/02;变更事项:申请人;变更前:临海市朵纳卫浴有限公司;变更后:浙江朵纳家居股份有限公司;变更事项:地址;变更前:317000 浙江省台州市临海市沿江镇亭山村;变更后:317000 浙江省台州市临海市沿江镇亭山村
2019-01-25
实质审查的生效
状态信息
实质审查的生效;IPC(主分类):B01F7/02;申请日:20181026
2019-01-01
公布
状态信息
公布
摘要
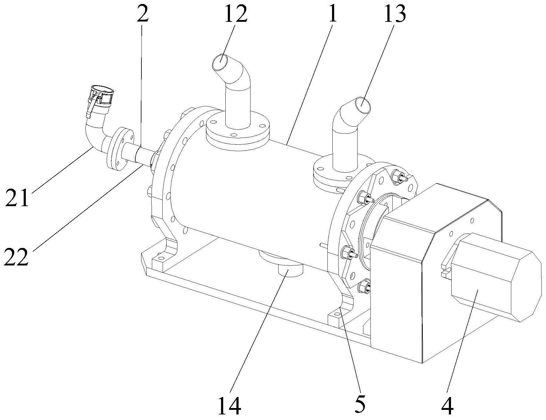
本发明的目的在于提供一种浴室柜板材胶合制造用离心调胶装置及其调胶工艺,包括机体、搅拌输液装置。本技术方案通过优化设计,利用搅拌轴内的搅拌叶片完成搅拌混合,同时优化设计输液装置便于水的输送,同步优化生产调胶工艺,采用旋转搅拌并同步完成水分输送,利用离心结合使得搅拌更为均匀,提高了各成分与水分的混合均匀性,提升了调胶品质,使得胶黏剂调胶更为稳定,同时降低了人工成本,提高了生产效率,同时增加了调胶量,保证了产品的品质。


