授权公布号:CN217546503U
一种电源适配器
有效
申请
2022-06-06
申请公布
1970-01-01
授权
2022-10-04
预估到期
2032-06-06
| 申请号 | CN202221387882.8 |
| 申请日 | 2022-06-06 |
| 授权公布号 | CN217546503U |
| 授权公告日 | 2022-10-04 |
| 分类号 | H05K5/02;H02M1/00 |
| 分类 | 其他类目不包含的电技术; |
| 申请人名称 | 深圳市富源电电源有限公司 |
| 申请人地址 | 广东省深圳市宝安区福永街道新和社区福园一路35号天瑞工业园A9栋第八层A |
专利法律状态
2022-10-04
授权
状态信息
授权
摘要
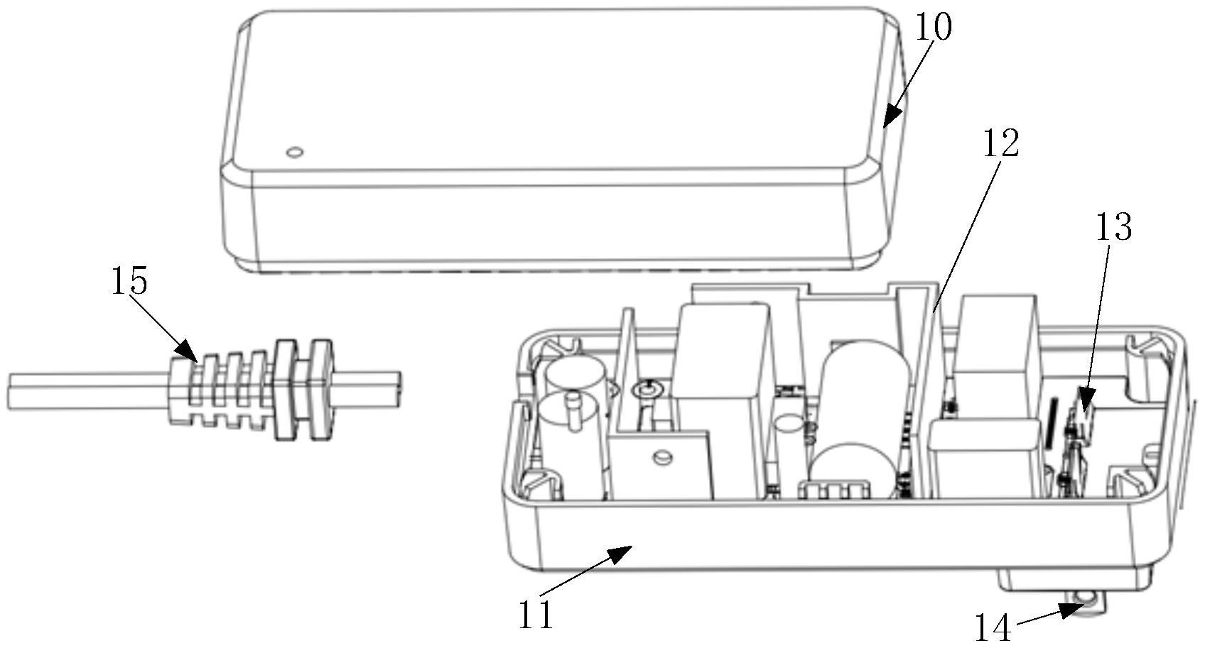
本实用新型适用于适配器技术改进领域,提供了一种电源适配器,所述电源适配器包括适配器壳体、电源插接柱、插接弹片及PCB电路板,所述PCB电路板设于所述适配器壳体内,所述插接弹片设于所述PCB电路板上,所述电源插接柱设于所述适配器壳体上,所述电源插接柱的一端插接于所述插接弹片上。电路板与插接柱采用弹片插接方式连接结构简单,维修维护方便,有效提高了适配器的使用寿命。降低了维护和维修时的拆卸方便,降低了电源适配器的整体成本,能够有效的降低了资源浪费。


